LEMON Manuals: Even more car manuals for everyone: 1960-2025
Home >> Acura >> 2005 >> MDX Base >> Repair and Diagnosis >> External Pages >> Different car >> Section 90 (Climate Control System) >> Climate Control Unit Removal/ Installation
April 5, 2026: LEMON Manuals is launched! Read the announcement.

Climate Control Unit Removal/ Installation

WARNING: This page is about a different car, the 2009 Acura MDX, 2008 Acura MDX, and 2007 Acura MDX. However, it is still accessible from the selected car via links, so may be relevant.
  1. Remove the audio unit (see AUDIO UNIT REMOVAL/INSTALLATION ).
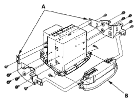
  2. Remove the self-tapping screws, bolts, brackets (A), and the climate control unit (B).
    Fig 1: Identifying Self-Tapping Screws, Bolts, Brackets And Climate Control Unit
    G05487706Courtesy of AMERICAN HONDA MOTOR CO., INC.
  3. Install the control unit in the reverse order of removal. After installation, operate the various functions to see whether works properly.
  4. Run the self-diagnostic function to confirm that there are no problems in the system (see HOW TO USE THE SELF-DIAGNOSTIC FUNCTION WITHOUT THE HDS  ).