LEMON Manuals: Even more car manuals for everyone: 1960-2025
Home >> Acura >> 2005 >> MDX Base >> Repair and Diagnosis >> Steering >> Power Steering >> Power Steering System >> Steering Gearbox Overhaul >> Exploded View >> Disassembly
April 5, 2026: LEMON Manuals is launched! Read the announcement.

Exploded View: Disassembly

  1. 2. Remove the boot bands (A) and tie-rod clips (B). Pull the boots away from the ends of the steering gearbox.
    Fig 1: Removing Boot Bands And Tie-Rod Clips
    G03641100Courtesy of AMERICAN HONDA MOTOR CO., INC.
  2. 3. Unbend the lock washer.
    Fig 2: Unbending Lock Washer
    G03641101Courtesy of AMERICAN HONDA MOTOR CO., INC.
  3. 4. Hold the flat surface sections (A) of the steering rack (B) with a wrench, and unscrew both rack ends (C) with another wrench. Be careful not to damage the rack surface with the wrench. Remove the lock washer (D) and stop rubber (E).
    Fig 3: Holding Flat Surface Sections Of Steering Rack Using Wrench
    G03641102Courtesy of AMERICAN HONDA MOTOR CO., INC.
  4. 5. Loosen the locknut (A), then remove the rack guide screw (B).
    Fig 4: Removing Spring And Rack Guide From Steering Gearbox
    G03641103Courtesy of AMERICAN HONDA MOTOR CO., INC.
  5. 6. Remove the spring (C) and the rack guide (D) from the steering gearbox.
  6. 7. Remove the cylinder lines from the steering gearbox.
    Fig 5: Removing Cylinder Lines From Steering Gearbox
    G03641104Courtesy of AMERICAN HONDA MOTOR CO., INC.
  7. 8. Drain the fluid from the cylinder fittings by slowly moving the steering rack back and forth.
  8. 9. Loosen the 16 mm flare nut (A), and remove the return line joint (B).
    Fig 6: Removing Return Line Joint And Valve Body Unit
    G03641105Courtesy of AMERICAN HONDA MOTOR CO., INC.
  9. 10. Remove the two flange bolts, then remove the valve body unit (C) from the steering gearbox (D). Remove the O-ring (E), and discard it.
  10. 11. Drill a 3 mm (0.12 in.) diameter hole about 2.5-3.0 mm (0.10-0.12 in.) in depth in the staked point (A) on the cylinder. Do not allow metal shavings to enter the cylinder housing. After removing the cylinder end (B), remove any burrs at the staked point.
    Fig 7: Identifying Staked Point On Cylinder
    G03641106Courtesy of AMERICAN HONDA MOTOR CO., INC.
  11. 12. Attach the yoke of a universal puller (commercially available) (A) to the steering gearbox mounts with bolts. Clamp the yoke in a vise with soft jaws as shown, then loosen and remove the cylinder end (B). Do not clamp the cylinder housing or gearbox housing in the vise.
    Fig 8: Clamping Yoke In Vise Using Soft Jaws
    G03641107Courtesy of AMERICAN HONDA MOTOR CO., INC.
  12. 13. Install a commercially available bearing separator (A) on the gearbox housing as shown.
    Fig 9: Installing Bearing Separator On Gearbox Housing
    G03641108Courtesy of AMERICAN HONDA MOTOR CO., INC.
  13. 14. Place an appropriately sized deep socket wrench (B) on the steering rack (C).
  14. 15. Set the steering gearbox in a press so the gearbox housing points upward, then press the cylinder end seal (D) and steering rack out of the gearbox. Hold the steering rack to keep it from falling when pressed clear. Be careful not to damage the inner surface of the cylinder housing with the tool.
  15. 16. Remove the cylinder end seal from the steering rack.
  16. 17. Carefully pry the piston seal ring (A) and O-ring (B) off the rack piston. Be careful not to damage the inside of the seal ring groove and piston edges when removing the seal ring.
    Fig 10: Prying Piston Seal Ring And O-Ring
    G03641109Courtesy of AMERICAN HONDA MOTOR CO., INC.
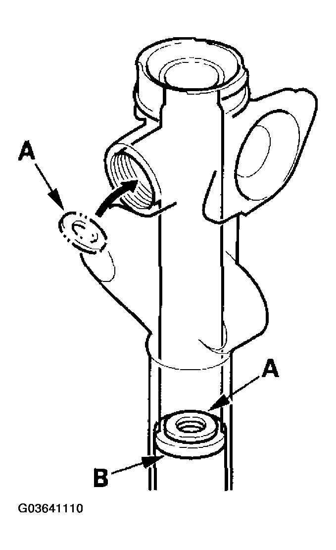
  17. 18. Install a washer (O.D. 27.5 mm, P/N 94103-10400) (A) so it will fit through the rack guide hole of the gearbox housing, then position the washer on the cylinder end seal (B). Make sure that the washer is securely positioned on the cylinder end seal edges.
    Fig 11: Installing Washer
    G03641110Courtesy of AMERICAN HONDA MOTOR CO., INC.
  18. 19. Install the socket wrench with a 27.5 mm O.D. (A) onto the 24 "long 3/8" drive extension (B), and carefully place it on the washer (C).
    Fig 12: Installing Socket Wrench On Drive Extension
    G03641111Courtesy of AMERICAN HONDA MOTOR CO., INC.
  19. 20. Set the steering gearbox in a press so the gearbox housing points upward, then push out the cylinder end seal (D) 5-6 mm (0.20-0.24 in.) by pressing on the 24 "long 3/8" drive extension end.
  20. 21. Remove the steering gearbox from the press, and remove the washer from the gearbox inside.
  21. 22. Turn the special tool so it will fit through the rack guide hole of the steering gearbox, then position the special tool on the cylinder end seal (A). Make sure that the special tool is securely positioned on the seal edges.
    Fig 13: Positioning Special Tool On Cylinder End Seal
    G03641112Courtesy of AMERICAN HONDA MOTOR CO., INC.
  22. 23. Insert a 24 "long 3/8" drive extension (A), on the special tool. Place the steering gearbox in a press, then remove the cylinder end seal (B) from the gearbox by pressing on the 24 "long 3/8" drive extension.

    Note these items when pressing the cylinder end seal:

    • Keep the tool straight to avoid damaging the cylinder wall. Check the tool angle, and correct it if necessary, when removing the cylinder end seal.
    • Use a press to remove the cylinder end seal. Do not try to remove the seal by striking the tool; striking the tool would break the cylinder end seal, and the seal would remain in the steering gearbox.
      Fig 14: Removing Cylinder End Seal
      G03641113Courtesy of AMERICAN HONDA MOTOR CO., INC.
  23. 24. Before removing the valve housing (A), apply vinyl tape (B) to the splines on the pinion shaft (C).
    Fig 15: Applying Vinyl Tape To Splines On Pinion Shaft
    G03641114Courtesy of AMERICAN HONDA MOTOR CO., INC.
  24. 25. Separate the valve housing from the pinion shaft/valve using a press.
  25. 26. With your finger, check the inner wall of the valve housing where the seal ring slides. If there is a step in the wall, the housing is worn. Replace it.
    NOTE: There may be sliding marks from the seal ring on the wall of the valve housing. Replace the valve housing only if the wall is stepped.
    Fig 16: Checking Inner Wall Of Valve Housing
    G03641115Courtesy of AMERICAN HONDA MOTOR CO., INC.
  26. 27. Check for wear, burrs and other damage to the edges of the grooves in the sleeve.
    NOTE: The pinion shaft and sleeve are a precision matched set. If either the pinion shaft or sleeve must be replaced, replace both parts as a set.
    Fig 17: Identifying Edges Of Grooves In Sleeve
    G03641116Courtesy of AMERICAN HONDA MOTOR CO., INC.
  27. 28. Remove the snap ring (A) and sleeve (B) from the pinion shaft.
    Fig 18: Removing Snap Ring And Sleeve From Pinion Shaft
    G03641117Courtesy of AMERICAN HONDA MOTOR CO., INC.
  28. 29. Using a cutter or an equivalent tool, cut and remove the four seal rings from the sleeve. Be careful not to damage the edges of the sleeve grooves and outer surface when removing the seal rings.
    Fig 19: Removing Four Seal Rings From Sleeve
    G03641118Courtesy of AMERICAN HONDA MOTOR CO., INC.
  29. 30. Using a cutter or an equivalent tool, cut the valve seal ring (A) and O-ring (B) at the cutting groove position (C) in the pinion shaft. Remove the valve seal ring and O-ring. Be careful not to damage the edges of the pinion shaft groove and outer surface when removing the valve seal ring and O-ring.
    Fig 20: Removing Valve Seal Ring And O-Ring
    G03641119Courtesy of AMERICAN HONDA MOTOR CO., INC.
  30. 31. Remove the valve oil seal (A) and wave washer (B) from the pinion shaft.

    Note these items during disassembly:

    • Inspect the ball bearing (C) by rotating the outer race slowly. If there is any excessive play or wear, replace the pinion shaft and sleeve as an assembly.
    • The pinion shaft and sleeve are a precise fit; do not intermix old and new pinion shafts and sleeves.
      Fig 21: Removing Valve Oil Seal And Wave Washer From Pinion Shaft
      G03641120Courtesy of AMERICAN HONDA MOTOR CO., INC.
  31. 32. Press the valve oil seal (A) and roller bearing (B) out of the valve housing using a hydraulic press and special tool.
    Fig 22: Pressing Valve Oil Seal And Roller Bearing
    G03641121Courtesy of AMERICAN HONDA MOTOR CO., INC.
  32. 33. Clean the disassembled parts with solvent, and dry them with compressed air. Do not dip rubber parts in the solvent.