LEMON Manuals: Even more car manuals for everyone: 1960-2025
Home >> Acura >> 2005 >> NSX 3.2 NA2 >> Repair and Diagnosis >> Engine Performance >> System >> Engine Controls - System & Component Testing >> Modules, Motors, Relays & Solenoids >> Throttle Valve Control Motor Relay
April 5, 2026: LEMON Manuals is launched! Read the announcement.

Throttle Valve Control Motor Relay

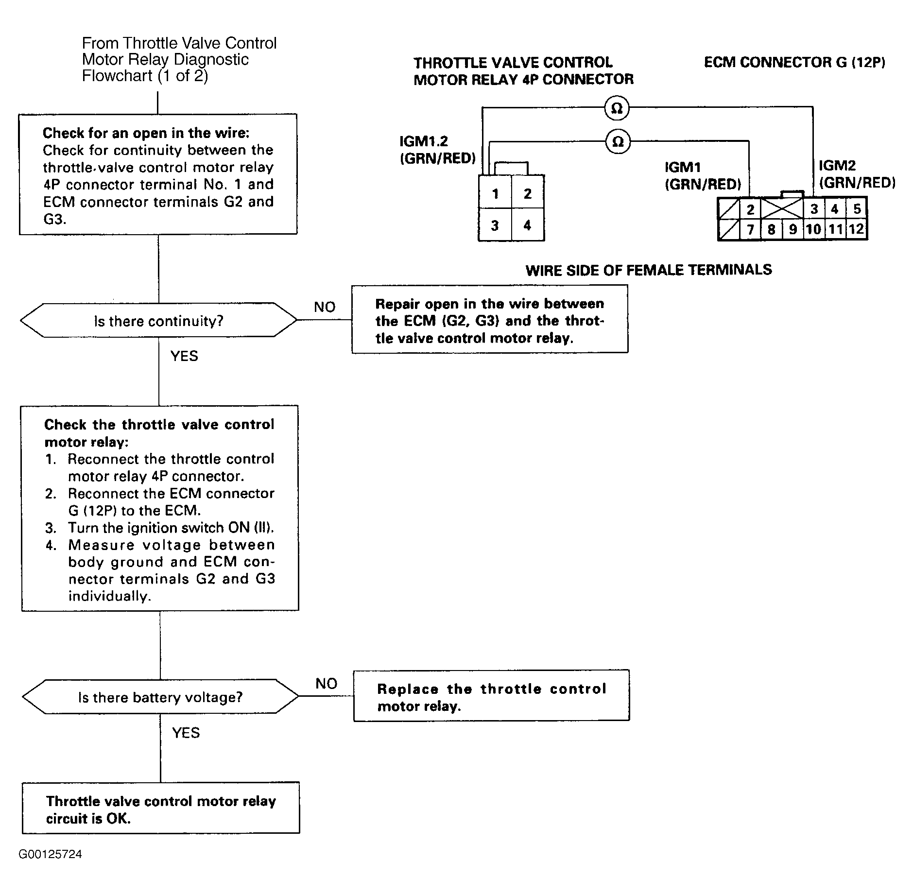
To troubleshoot the throttle valve control motor relay, see Fig 1 and Fig 2 . Relay is located behind passenger seat. See Figure .

Fig 1: Throttle Valve Control Motor Relay Diagnostic Flowchart (1 Of 2)
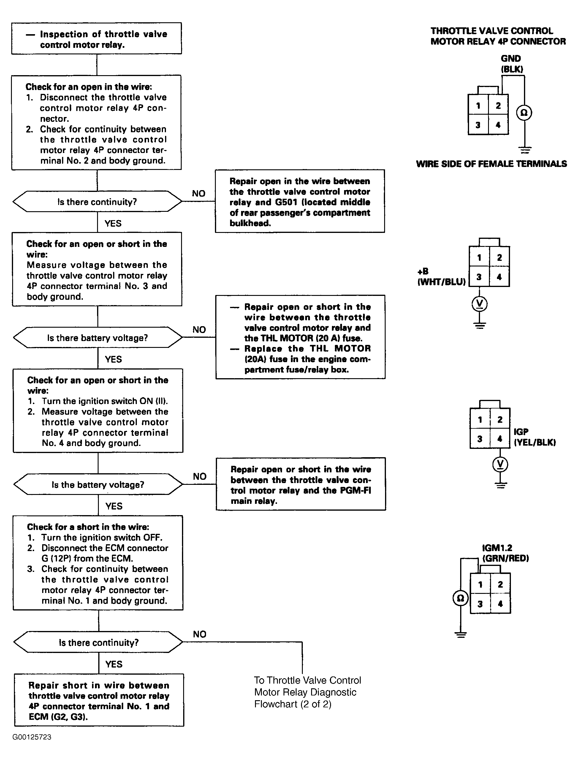
G00125723Courtesy of AMERICAN HONDA MOTOR CO., INC.
Fig 2: Throttle Valve Control Motor Relay Diagnostic Flowchart (2 Of 2)
G00125724Courtesy of AMERICAN HONDA MOTOR CO., INC.