LEMON Manuals: Even more car manuals for everyone: 1960-2025
Home >> Acura >> 2005 >> RL >> Repair and Diagnosis (Single Page) >> Accessories & Equipment >> Entertainment Systems >> ONSTAR System >> OnStar System Control Unit Input Test >> '05-06 models
April 5, 2026: LEMON Manuals is launched! Read the announcement.

'05-06 models

  1. Remove the rear seat (see REAR SEAT REMOVAL/INSTALLATION ).
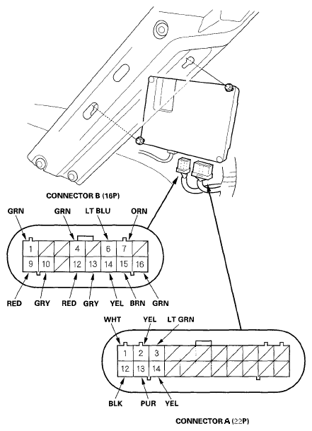
  2. Disconnect the 22P and 16P connectors from the OnStar control unit.
    NOTE: All connector views are from wire side of female terminals.
    Fig 1: Identifying Onstar Control Unit 22P And 16P Connectors
    G05497715Courtesy of AMERICAN HONDA MOTOR CO., INC.
  3. Inspect the connector and socket terminals to be sure they are all making good contact.
    • If the terminals are bent, loose or corroded, repair them as necessary, and recheck the system.
    • If the terminals lock OK, go to step 4.
  4. Reconnect the connectors to the control unit and make these input tests at the appropriate connector.
    • If any test indicates a problem, find and correct the cause, then recheck the system.
    • If all the input tests prove OK, go to step 5.
      WIRE CAVITY REFERENCE CHART

      Cavity Wire Test condition Test: Desired result Possible cause if result is not obtained
      A12 BLK Under all conditions Check for voltage to ground: There should be less than 1 V.
      • Poor ground (G602)
      • An open in the wire
      A1 WHT Under all conditions Check for voltage to ground: There should be less than 1 V.
      • Blown No. 5 (7.5A) fuse in the driver's under-dash fuse/relay box
      • An open in the wire
      A2 YEL Ignition switch ON (II) Check for voltage to ground: There should be battery voltage.
      • Blown No. 21 (10A) fuse in the driver's under-dash fuse/relay box
      • An open in the wire
      A13 PUR Ignition switch in ACC (1) Check for voltage to ground: There should be battery voltage.
      • Blown No. 32 (10A) fuse in the driver's under-dash fuse/relay box
      • An open in the wire
      B10 GRY Under all conditions Check for voltage to ground: There should be less than 1 V. An open in the wire
      B13 GRY Under all conditions Check for voltage to ground: There should be less than 1 V. An open in the wire
      B14 YEL Under all conditions Check for voltage to ground: There should be less than 1 V. An open in the wire
      B1 GRN Ignition switch in ACC (1). OnStar "DOT" button pushed. Speak into the microphone. Check for voltage to ground: There should be about 4 V.
      • Faulty OnStar buttons and microphone
      • An open in the wire
      B9 RED Under all conditions Check for voltage to ground: There should be less than 1 V.
      • Faulty OnStar buttons and microphone
      • An open in the wire
      B4 GRN OnStar "DOT" button pushed and human advisor voice comes on. Check for voltage between the B4 terminal and stereo amplifier connector C (23P) No. 12 terminal: There should be less than 1 V.
      • Faulty stereo amplifier
      • Faulty speaker
      • An open in the wire
      B12 RED OnStar "DOT" button pushed and human advisor voice comes on. Check for voltage between the B4 terminal and stereo amplifier connector C (23P) No. 13 terminal: There should be less than 1 V.
      • Faulty stereo amplifier
      • Faulty speaker
      • An open in the wire
  5. Disconnect the 22P and 16P connectors from the OnStar control unit, and make these input tests at the appropriate connector.
    • If any test indicates a problem, find and correct the cause, then recheck the system.
    • If all the input tests prove OK, the control unit must be faulty; replace it.
      WIRE CAVITY REFERENCE CHART

      Cavity Wire Test conditions Test; Desired result Possible cause if result is not obtained
      A3 LT GRN Under all conditions Check for continuity between the A3 terminal and driver's under-dash fuse/relay box connector G (6P) No. 1 terminal:
      There should be continuity.
      An open in the wire
      A14 YEL Under all conditions Check for continuity between the A14 terminal and multiplex integrated control unit connector P (30P) No. 21 terminal:
      There should be continuity.
      An open in the wire
      B16 GRN Under all conditions Check for continuity between the B16 terminal and audio unit connector B (32P) No. 8 terminal:
      There should be continuity.
      An open in the wire
      B6 LT BLU Under all conditions Check for continuity between the B6 terminal and roof console connector (28P) No. 1 terminal:
      There should be continuity.
      An open in the wire
      B15 BRN Under all conditions Check for continuity between the B15 terminal and roof console connector (28P) No. 16 terminal:
      There should be continuity.
      An open in the wire
      B7 ORN Under all conditions Check for continuity between the B7 terminal and roof console connector (28P)No. 15 terminal:
      There should be continuity.
      An open in the wire