LEMON Manuals: Even more car manuals for everyone: 1960-2025
Home >> Acura >> 2005 >> RL >> Repair and Diagnosis (Single Page) >> Transmission >> Automatic Trans >> Automatic Transmission >> System Description >> Electronic Control System >> Shift Control - Grade Logic Control
April 5, 2026: LEMON Manuals is launched! Read the announcement.

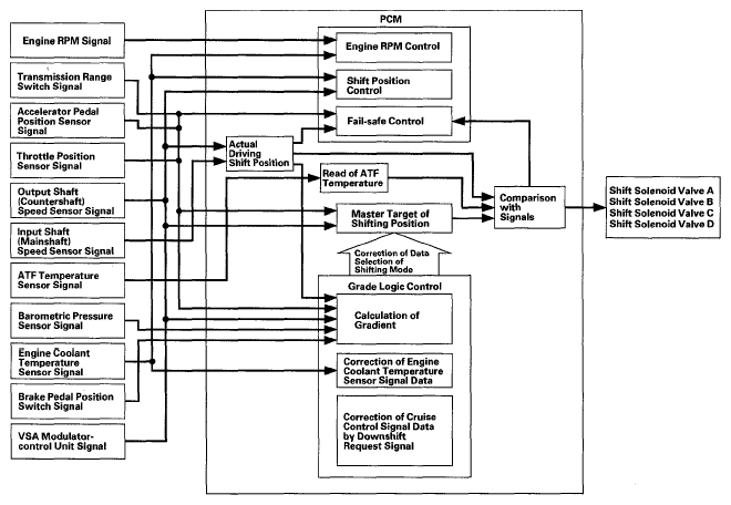
Shift Control - Grade Logic Control

The grade logic control system is used to control shifting in D and D3. The PCM compares actual driving conditions with programmed driving conditions, based on the input from the throttle position sensor, the engine coolant temperature sensor, the barometric pressure sensor, the brake pedal position switch signal, and the shift lever position signal, to control shifting while the vehicle is ascending or descending a slope.

Fig 1: Shift Control Diagram - Grade Logic Control
G05495402Courtesy of AMERICAN HONDA MOTOR CO., INC.