LEMON Manuals: Even more car manuals for everyone: 1960-2025
Home >> Acura >> 2005 >> RL >> Repair and Diagnosis >> Accessories & Equipment >> Cruise Control Systems >> Adaptive Cruise Control System >> System Description >> Adaptive Cruise Control (ACC) Unit
April 5, 2026: LEMON Manuals is launched! Read the announcement.

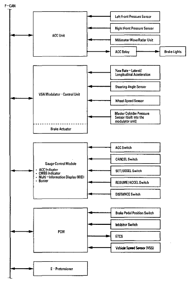
Adaptive Cruise Control (ACC) Unit

The ACC unit obtains information from external sensors and switches that are connected to their respective control units.

Adaptive Cruise Control Operation Range: