LEMON Manuals: Even more car manuals for everyone: 1960-2025
Home >> Acura >> 2005 >> RL >> Repair and Diagnosis >> Engine Mechanical >> Auxiliary Emission Control Systems >> PCV System >> PCV Valve Replacement
April 5, 2026: LEMON Manuals is launched! Read the announcement.

PCV Valve Replacement

  1. Remove the engine cover (see IGNITION COIL REMOVAL/INSTALLATION ).
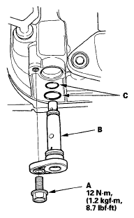
  2. Remove the bolt (A).
    NOTE: Take care not to spill oil on the hot exhaust manifold.
    Fig 1: PCV Valve And Bolt With Torque Specifications
    G05495336Courtesy of AMERICAN HONDA MOTOR CO., INC.
  3. Remove the PCV valve (B).
  4. Install the parts in the reverse order of removal.
    NOTE:
    • When installing a new PCV valve, make sure the O-rings (C) are in place.
    • When installing a used PCV valve, use new O-rings (C).