LEMON Manuals: Even more car manuals for everyone: 1960-2025
Home >> Acura >> 2005 >> RL >> Repair and Diagnosis >> External Pages >> Different car >> Section 48 (Audio System) >> Speaker Test/Replacement >> Tweeter
April 5, 2026: LEMON Manuals is launched! Read the announcement.

Speaker Test/Replacement: Tweeter

WARNING: This page is about a different car, the 2008 Acura TL and 2007 Acura TL. However, it is still accessible from the selected car via links, so may be relevant.
  1. Carefully pry the tweeter grille (A) out from the dashboard. Be careful not to damage the tweeter grille and the dashboard.
    Fig 1: Identifying Tweeter Grille And 2P Connector
    G05463093Courtesy of AMERICAN HONDA MOTOR CO., INC.
  2. Disconnect the 2P connector (B) from the tweeter.
  3. Remove the tweeter (A) from the tweeter grille.
    Fig 2: Identifying 2P Connector From Tweeter
    G05463094Courtesy of AMERICAN HONDA MOTOR CO., INC.
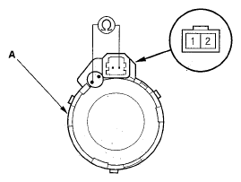
  4. Check the capacitor (B) condition. If any malfunction is found, replace the tweeter.
  5. Measure the resistance between the tweeter (A) terminal No. 2 and the outside terminal of the capacitor* There should be about 4 0,.
    Fig 3: Measuring Resistance Between Tweeter Terminal
    G05463095Courtesy of AMERICAN HONDA MOTOR CO., INC.
  6. If the resistance is not as specified, replace the tweeter.