LEMON Manuals: Even more car manuals for everyone: 1960-2025
Home >> Acura >> 2005 >> TL V6-3.2L >> Repair and Diagnosis >> Heating and Air Conditioning >> Solar Sensor >> Service and Repair
April 5, 2026: LEMON Manuals is launched! Read the announcement.

Solar Sensor: Service and Repair

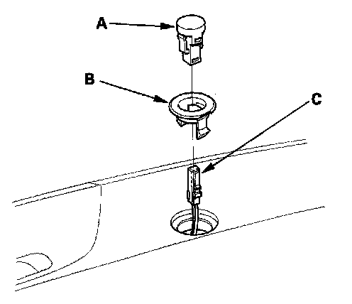
Sunlight Sensor Replacement




1. Remove the sunlight sensor (A) from the sunlight sensor garnish (B), then disconnect the 2P connector (C). Be careful not to damage the sensor and the dashboard.
2. Install the sensor in the reverse order of removal.