LEMON Manuals: Even more car manuals for everyone: 1960-2025
Home >> Acura >> 2005 >> TL V6-3.2L >> Repair and Diagnosis >> Windows and Glass >> Windows >> Power Window Switch >> Service and Repair >> Passenger's Window Switch Test/Replacement
April 5, 2026: LEMON Manuals is launched! Read the announcement.

Passenger's Window Switch Test/Replacement

Passenger's Window Switch Test/Replacement

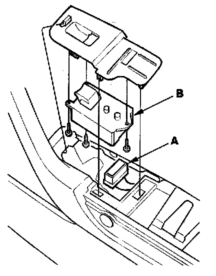
Front Passenger's

NOTE: To test the front passenger's power window switch, refer to the input test.

1. Remove the front passenger's door panel.




2. Remove the screw and disconnect the connector (A) from the power window switch (B), then remove the switch assembly from the door panel,
3. Remove the three mounting screws, then remove the power window switch from the switch panel.
4. Install in the reverse order of removal.
5. Reset the power window control unit.

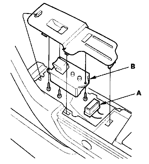
Rear

1. Remove the rear door panel.




2. Remove the screw and disconnect the connector (A) from the power window switch (B), then remove the switch assembly from the door panel.
3. Remove the three mounting screws, then remove the power window switch from the switch panel.
4. Swap the rear power window switch with another known-good switch and test. If the original window switch is faulty; replace it.
5. Install in the reverse order of removal.