LEMON Manuals: Even more car manuals for everyone: 1960-2025
Home >> Acura >> 2005 >> TSX L4-2.4L >> Repair and Diagnosis >> Specifications >> Mechanical Specifications >> Engine >> System Specifications >> Torque and Sequence >> Main Bearing Cap
April 5, 2026: LEMON Manuals is launched! Read the announcement.

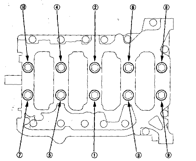
Main Bearing Cap

Main bearing cap





Tighten the bearing cap bolts in sequence to 29 Nm (3.0 kgf-m, 22 ft. lbs.).





Tighten the bearing cap bolts an additional 56°.





Tighten the 8 mm bolts in sequence to 22 Nm (2.2 kgf-m, 16 ft. lbs.).