LEMON Manuals: Even more car manuals for everyone: 1960-2025
Home >> Acura >> 2006 >> MDX V6-3.5L >> Repair and Diagnosis >> Diagrams >> Connector Views >> Tire Pressure Module >> Circuit Data
April 5, 2026: LEMON Manuals is launched! Read the announcement.

Circuit Data

System Description

TPMS Control Unit Inputs and Outputs for Connector A (12P):




TPMS Control Unit Inputs and Outputs for Connector B (22P):




TPMS Control Unit Inputs and Outputs for Connector B (22P) (continued):





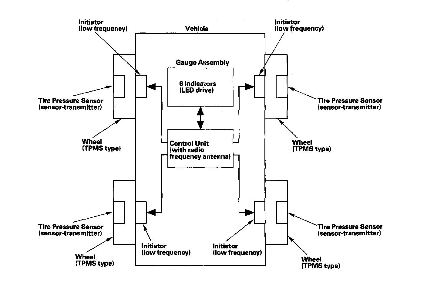
System Structure





Whenever the engine is running, the TPMS control unit continuously monitors all four tires and the system. If it detects low pressure in a tire, it alerts the driver by turning on the low pressure indicator and the appropriate tire indicator. If it detects a problem in the system, it turns on the TPMS indicator.

Initiators
Mounted on the top of each wheel well, each initiator sends a start/stop signal to the tire pressure sensor in the tire below it.

Control unit
Mounted on the left side of the lower dash, the control unit sends signals to the initiators and receives signals from them to verify pressure sensor IDs every time the engine starts. It also receives signals from the transmitters in the tire pressure sensors, and it continuously monitors and controls the system.

Indicators
Six indicators are in the gauge assembly: The low pressure indicator, four tire indicators to show which tire is affected, and the TPMS indicator that comes on only if there's problem with the system. When two or more tire pressures are low, the low pressure indicator comes on about 5 seconds before the appropriate tire indicator. Once low pressure is detected, the system scans all four pressure sensors to ensure that it turns on the correct tire indicator.

Tire pressure sensor
Each sensor is an integrated unit made up of the tire valve stem, a pressure sensor, and a transmitter. The unit is attached to the inside of the wheel, around the valve stem. The sensor transmits a signal to the control unit when tire pressure is less than 176 kPa (1.8 kgf/cm2, 26 psi). The control unit then turns on the low pressure indicator and the appropriate tire indicator(s). When that tire's pressure is increased to more than 198 kPa (2.0 kgf/cm2, 29 psi), the transmitter stops sending the signal, and the control unit turns the indicators off.

Wheels





TPMS will not work unless TPMS type wheels are installed on the vehicle. The original equipment wheels have a TPMS mark on them (A), and a counterweight (B) cast into the opposite side of the rim to balance the weight of the sensor(C).

System Communication





- When the vehicle is running, an RF (radio frequency) band wave signal is continuously transmitted from the tire pressure sensor to the control unit.
- When the ignition switch is turned ON (II), the initiators send an LF (low frequency) band wave signal to the low pressure sensors, switching them from sleep mode to normal function mode. When the ignition switch is turned OFF, the sensors switch from normal function mode back to sleep mode to extend their battery life
- Each low pressure sensor has its own ID to prevent jamming by similar systems on other vehicles. After memorizing all the sensor IDs, the control unit receives only those specific signals.
- An ID can be memorized manually or automatically. Each initiator is hardwired to the control unit. Every time the ignition is turned ON (II), the control unit asks each initiator for a sensor ID. The initiators then transmit the sensor IDs, and the control unit receives and memorizes them. The control unit then knows which ID belongs to each tire location. This recurring ID confirmation prevents any confusion in the system as a result of normal tire rotation.

NOTE: Be careful not to bend the brackets on the TPMS control unit and front initiators: Misalignment of the control unit and initiators could interfere with sending and receiving signals.