LEMON Manuals: Even more car manuals for everyone: 1960-2025
Home >> Acura >> 2006 >> MDX V6-3.5L >> Repair and Diagnosis >> Powertrain Management >> Computers and Control Systems >> Description and Operation >> Electronic Throttle Control System
April 5, 2026: LEMON Manuals is launched! Read the announcement.

Electronic Throttle Control System

Electronic Throttle Control System

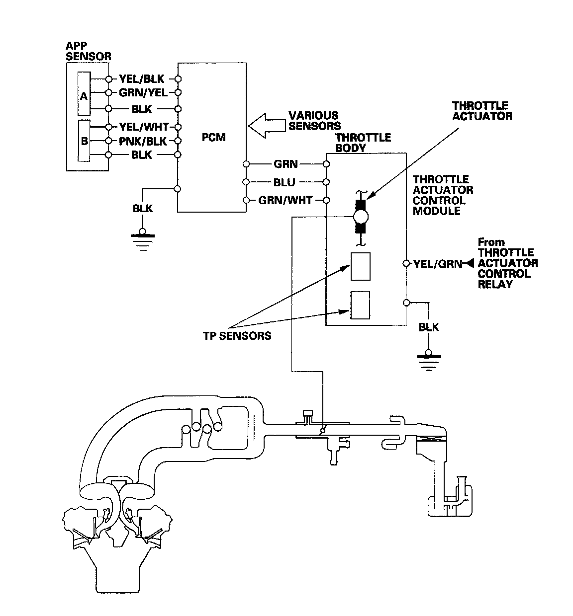
The throttle is electronically controlled by the electronic throttle control system. Refer to the system diagram to see the functional layout of the system.

Idle control: When the engine is idling, the PCM controls the throttle actuator to maintain the proper idle speed according to engine loads.

Acceleration control: When the accelerator pedal is pressed, the PCM opens the throttle valve depending on the accelerator pedal position (APP) sensor signal.

Cruise control: The PCM controls the throttle actuator to maintain set speed when the cruise control is operating. The throttle actuator lakes the place of the cruise control actuator.




Electronic Throttle Control System Diagram

The Electronic Throttle Control System consists of the throttle actuator, throttle actuator control module, throttle actuator control relay, throttle position (TP) sensors, accelerator pedal position (APP) sensor, and the PCM. The throttle is electronically controlled by this system.