LEMON Manuals: Even more car manuals for everyone: 1960-2025
Home >> Acura >> 2006 >> RL V6-3.5L >> Repair and Diagnosis >> Heating and Air Conditioning >> Service and Repair >> System Charging
April 5, 2026: LEMON Manuals is launched! Read the announcement.

System Charging

System Charging

CAUTION
- Air conditioning refrigerant or lubricant vapor can irritate your eyes, nose, or throat.
- Be careful when connecting service equipment.
- Do not breathe refrigerant or vapor.

NOTE:
- If accidental system discharge occurs, ventilate work area before resuming service.
- Additional health and safety information may be obtained from the refrigerant and lubricant manufacturers.




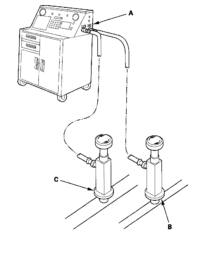
1. Connect an R-134a refrigerant recovery/recycling/charging station (A) to the high-pressure service port (B), and the low-pressure service port (C), as shown, following the equipment manufacturer's instructions.
2. Evacuate the system.
3. Add the same amount of new refrigerant oil to the system that was removed during recovery. Use only DENSO ND-OIL 8 refrigerant oil.
4. Charge the system with the specified amount of R-134a refrigerant. Do not overcharge the system; the A/C compressor will be damaged.

Select the appropriate units of measure for your refrigerant charging station.

Refrigerant Capacity:
450 to 500 g
0.45 to 0.50 kg
1.0 to 1.1 lbs
15.9 to 17.6 oz


5. Check for refrigerant leaks.
6. Check for system performance.