LEMON Manuals: Even more car manuals for everyone: 1960-2025
Home >> Acura >> 2006 >> RL >> Repair and Diagnosis >> Body & Frame >> Windows >> Body Glass >> Windshield Replacement
April 5, 2026: LEMON Manuals is launched! Read the announcement.

Windshield Replacement

NOTE:
  • Put on gloves to protect your hands.
  • Wear eye protection while cutting the glass adhesive with piano wire.
  • Cover interior surfaces to avoid damaging them.
  1. Remove these items:
  2. Remove the molding (A) from the upper edge of the windshield (B). If necessary, cut the molding with a utility knife.
    Fig 1: Identifying Windshield And Molding
    G05496182Courtesy of AMERICAN HONDA MOTOR CO., INC.
  3. If the old windshield will be reinstalled, make alignment marks across the glass and body with a grease pencil.
  4. Pull down the front portion of the headliner (see HEADLINER REMOVAL/INSTALLATION ). Take care not to bend the headliner excessively, or you may crease or break it.
  5. Apply protective tape along the edge of the dashboard and body. Using an awl, make a hole through the rubber dam and adhesive from inside the vehicle at the corner portion of the windshield. Push a piece of piano wire through the hole, and wrap each end around a piece of wood.
  6. With a helper on the outside, pull the piano wire (A) back and forth in a sawing motion. Hold the piano wire as close to the windshield (B) as possible to prevent damage to the body and dashboard. Carefully cut through the rubber dam and adhesive (C) around the entire windshield.
    Fig 2: Positioning Piano Wire
    G05496183Courtesy of AMERICAN HONDA MOTOR CO., INC.

    Cutting positions 

    Fig 3: Identifying Piano Wire (Pulling Piano Wire)
    G05496184Courtesy of AMERICAN HONDA MOTOR CO., INC.
  7. Carefully remove the windshield.
  8. With a knife, scrape the old adhesive smooth to a thickness of about 2 mm (0.08 in.) on the bonding surface around the entire windshield opening flange:
    • Do not scrape down to the painted surface of the body; damaged paint will interfere with proper bonding.
    • Remove the rubber dam and fasteners from the body.
    • Replace the dashboard seal with a new one.
  9. Clean the body bonding surface with a sponge dampened in alcohol. After cleaning, keep oil, grease and water from getting on the clean surface.
  10. If the old windshield will be reinstalled, use a putty knife to scrape off all of the old adhesive, the Velcro fasteners and the rubber dam. Clean the inside face and the edge of the windshield with alcohol where new adhesive will be applied. Make sure the bonding surface is kept free of water, oil and grease.
  11. Attach the upper rubber dam (A), lower rubber dam (B) with adhesive tape A, and clips (C) with adhesive tape B to the inside face of the windshield (D) as shown:
    • Be sure the rubber dam and clips line up with the alignment marks (E).
    • Be careful not to touch the windshield where adhesive will be applied.

    Adhesive tape A: Thickness 0.16 mm (0.006 in.) 

    Adhesive tape B: Thickness 0.4 mm (0.02 in.) Width 10 mm (0.39 in.) 

    Fig 4: Identifying Upper Rubber Dam And Lower Rubber Dam
    G05496185Courtesy of AMERICAN HONDA MOTOR CO., INC.
  12. Attach the molding (A) with adhesive tape (B) to the upper edge of the windshield (C). Be careful not to touch the windshield where adhesive will be applied.

    Adhesive tape: Thickness 0.8 mm (0.03 in.) 

    Width 4 mm (0.2 in.) 

    Fig 5: Identifying Molding, Adhesive Tape And Windshield
    G05496186Courtesy of AMERICAN HONDA MOTOR CO., INC.
  13. Attach the molding upper seal (A) to the inside surface of the molding (B) as shown.
    Fig 6: Identifying Molding Upper Seal Of Molding
    G05496187Courtesy of AMERICAN HONDA MOTOR CO., INC.
  14. Set the windshield in the opening, and center it. Make alignment marks (A) across the windshield and body with a grease pencil at the four points shown. Make sure both clips (B) contact the edge of the body holes. Be careful not to touch the windshield where adhesive will be applied.
    Fig 7: Making Alignment Marks Across Windshield And Body At The Four Points Shown
    G05496188Courtesy of AMERICAN HONDA MOTOR CO., INC.
  15. Remove the windshield.
  16. With a sponge, apply a light coat of glass primer around the edge of the windshield (A) between the dams (B) and molding (C) as shown, then lightly wipe it off with gauze or cheesecloth:
    • Apply glass primer to the molding.
    • Do not apply body primer to the windshield, and do not get body and glass primer sponges mixed up.
    • Never touch the primed surfaces with your hands. If you do, the adhesive may not bond to the windshield properly, causing a leak after the windshield is installed.
    • Keep water, dust, and abrasive materials away from the primed surfaces.
      Fig 8: Applying Glass Primer To Molding
      G05496189Courtesy of AMERICAN HONDA MOTOR CO., INC.
  17. With a sponge, carefully apply a light coat of body primer to any exposed paint around the flange where new adhesive will be applied. Let the primer dry for at least 10 minutes:
    • Do not apply body primer to any remaining original adhesive on the flange.
    • Be careful not to mix up the body and glass primer sponges.
    • Never touch the primed surfaces with your hands.
      Fig 9: Applying Body Primer To Exposed Paint As Shown
      G05496190Courtesy of AMERICAN HONDA MOTOR CO., INC.
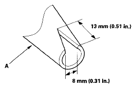
  18. Cut a "V" in the end of the nozzle (A) on the adhesive cartridge as shown.
    Fig 10: Identifying Cut Sectional Of "V" In Nozzle Tip
    G05496191Courtesy of AMERICAN HONDA MOTOR CO., INC.
  19. Put the cartridge in a caulking gun, and run a bead of adhesive (A) around the edge of the windshield (B) between the dams (C) and molding (D) as shown. Apply the adhesive within 30 minutes after applying the glass primer. Make a slightly thicker bead at each corner.
    Fig 11: Applyiny Adhesive to Windshield, Dams And Molding
    G05496192Courtesy of AMERICAN HONDA MOTOR CO., INC.
  20. Use suction cups to hold the windshield over the opening, align it with the alignment marks made in step  14, and set it down on the adhesive. Lightly push on the windshield until its edges are fully seated on the adhesive all the way around. Do not open or close any of the doors for about an hour until the adhesive is dry.
  21. Scrape or wipe any excess adhesive off with a putty knife or towel. To remove adhesive from a painted surface or the windshield, wipe with a soft shop towel dampened with alcohol.
  22. After the adhesive has dried, spray water over the windshield and check for leaks. Mark any leaking areas, and let the windshield dry, then seal with sealant:
    • Let the vehicle stand for at least 4 hours after windshield installation. If the vehicle has to be used within the first 4 hours, it must be driven slowly.
    • Keep the windshield dry for the first hour after installation.
  23. Reinstall all remaining removed parts.
    NOTE: Advise the customer not to do the following things for 2 to 3 days:
    • Slam the doors with all the windows rolled up.
    • Twist the body excessively (such as when going in and out of driveways at an angle or driving over rough, uneven roads).
    • When replacing a broken windshield, a commercially available windshield cutter can be efficiently used for cutting the adhesive.