LEMON Manuals: Even more car manuals for everyone: 1960-2025
Home >> Acura >> 2007 >> CSX Base, K20A3 >> Repair and Diagnosis (Single Page) >> Accessories & Equipment >> Entertainment Systems >> Audio System >> System Description >> Auxiliary Jack Assembly Connector for Inputs and Outputs
April 5, 2026: LEMON Manuals is launched! Read the announcement.

Auxiliary Jack Assembly Connector for Inputs and Outputs

'07 model 

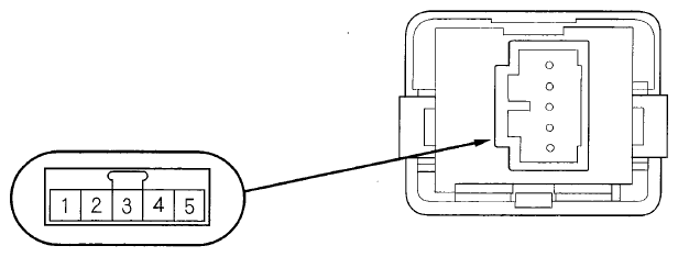
Fig 1: Identifying Auxiliary Jack Assembly Connector Terminal For Inputs And Outputs
G06268919Courtesy of AMERICAN HONDA MOTOR CO., INC.

With navigation system 

CONNECTOR WIRE REFERENCE

Cavity Wire Connect to
1 WHT Navigation unit (AUX DET)
2 BLU Navigation unit (AUX GND)
3 BRN Navigation unit (AUX SGND)
4 YEL Navigation unit (AUX L)
5 GRN Navigation unit (AUX R)

Without navigation system 

CONNECTOR WIRE REFERENCE

Cavity Wire Connect to
1 WHT Audio Unit (AUX DET)
2 BLU Audio Unit (AUX GND)
3 BRN Audio Unit (AUX SGND)
4 YEL Audio Unit (AUX L)
5 GRN Audio Unit (AUX R)