LEMON Manuals: Even more car manuals for everyone: 1960-2025
Home >> Acura >> 2007 >> CSX Type-S >> Repair and Diagnosis >> External Pages >> Different car >> Section 8 (Conventional Brake Components) >> Brake Fluid Level Switch Test
April 5, 2026: LEMON Manuals is launched! Read the announcement.

Brake Fluid Level Switch Test

WARNING: This page is about a different car, the 2011 Acura TL, 2010 Acura TL, and 2009 Acura TL. However, it is still accessible from the selected car via links, so may be relevant.
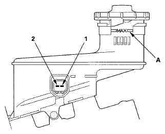
  1. Disconnect the brake fluid level switch connector
  2. Check for continuity between the terminals (1) and (2) with the float in the down position and in the up position
    NOTE:
    • Remove the brake fluid completely from the reservoir With the float down, there should be continuity
    • Fill the reservoir with brake fluid to the MAX (upper) level (A) With the float up, there should be no continuity
    • If the parking brake switch and brake fluid level switch are OK, but the brake system indicator does not function, do the gauge control module self-diagnostic function (see SELF-DIAGNOSTIC FUNCTION )
    • Fig 1: Identifying Brake Fluid To MAX (Upper) Level
      G05987900Courtesy of AMERICAN HONDA MOTOR CO., INC.
  3. Reconnect the brake fluid level switch connector