LEMON Manuals: Even more car manuals for everyone: 1960-2025
Home >> Acura >> 2007 >> MDX V6-3.7L >> Repair and Diagnosis >> Starting and Charging >> Starting System >> Ignition Switch >> Service and Repair
April 5, 2026: LEMON Manuals is launched! Read the announcement.

Ignition Switch: Service and Repair

Ignition Switch

Replacement
SRS components are located in the area. Review the SRS component locations and precautions and procedures before performing repairs or servicing.

1. Make sure you have the anti-theft code for the audio and navigation system (if equipped).
2. Disconnect the negative battery cable.
3. Remove the steering column covers.




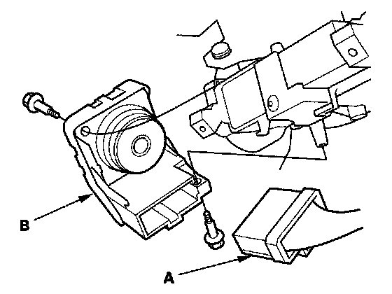
4. Disconnect the 7P connector (A) from the ignition switch (B).
5. Remove the two screws and the ignition switch.
6. Install in the reverse order of removal.
7. After reconnecting the battery, enter the audio and navigation system anti-theft codes, and set the clock.