LEMON Manuals: Even more car manuals for everyone: 1960-2025
Home >> Acura >> 2007 >> MDX >> Repair and Diagnosis (Single Page) >> Electrical >> Body Electrical >> Fuse/Relay Boxes >> Connector to Fuse/Relay Box Index >> Under-dash Fuse/Relay Box
April 5, 2026: LEMON Manuals is launched! Read the announcement.

Under-dash Fuse/Relay Box

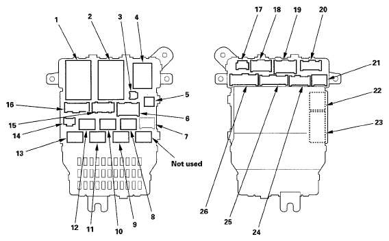
UNDER-DASH FUSE/RELAY BOX REFERENCE CHART

Socket Ref Terminal Connects to
A 6 6 Dashboard wire harness (see DASHBOARD WIRE HARNESS (VIEW OF DRIVER'S SIDE) )
Accessory power socket relay 8 4  
B 19 6 Left engine compartment wire harness (see LEFT ENGINE COMPARTMENT WIRE HARNESS )
C 18 12 Left engine compartment wire harness (see LEFT ENGINE COMPARTMENT WIRE HARNESS )
D 20 17 Left engine compartment wire harness (see LEFT ENGINE COMPARTMENT WIRE HARNESS )
E 25 16 Floor wire harness (see FLOOR WIRE HARNESS (LEFT BRANCH) )
F 26 14 Floor wire harness (see FLOOR WIRE HARNESS (LEFT BRANCH) )
Front seat heater relay 9 4  
G 21 6 Floor wire harness (see FLOOR WIRE HARNESS (LEFT BRANCH) )
H 24 14 Floor wire harness (see FLOOR WIRE HARNESS (LEFT BRANCH) )
J 16 21 Driver's door subharness (see DRIVER'S DOOR WIRE HARNESS A )
K 15 12 Driver's door subharness (see DRIVER'S DOOR WIRE HARNESS A )
M 14 3 MICU service check connector
N 2 45 Dashboard wire harness (see DASHBOARD WIRE HARNESS (VIEW OF DRIVER'S SIDE) )
P 23 30 Dashboard wire harness (see DASHBOARD WIRE HARNESS (VIEW OF DRIVER'S SIDE) )
PGM-FI main relay 2 (FUEL PUMP) 13 4  
Power window relay 11 4  
Q 22 14 Floor wire harness (see FLOOR WIRE HARNESS (LEFT BRANCH) )
R (for MES connector) 3 2 Dashboard wire harness (see DASHBOARD WIRE HARNESS (VIEW OF DRIVER'S SIDE) )
S (for SRS) 5 2 Dashboard wire harness (see DASHBOARD WIRE HARNESS (VIEW OF DRIVER'S SIDE) )
Short pin (for fuel pump) 10 -  
Short pin (for lumbar support) 12 -  
T 7 6 Not used
Turn signal/hazard relay 4 6  
W 17 5 Left engine compartment wire harness (see LEFT ENGINE COMPARTMENT WIRE HARNESS )
X 1 39 Dashboard wire harness (see DASHBOARD WIRE HARNESS (VIEW OF DRIVER'S SIDE) )
Fig 1: Identifying Under-Dash Fuse/Relay Box Connector Terminals
G05487832Courtesy of AMERICAN HONDA MOTOR CO., INC.