LEMON Manuals: Even more car manuals for everyone: 1960-2025
Home >> Acura >> 2007 >> MDX >> Repair and Diagnosis >> Body & Frame >> Ignition Switch/Steering Lock >> Replacement
April 5, 2026: LEMON Manuals is launched! Read the announcement.

Ignition Switch/Steering Lock: Replacement

SRS components are located in the area. Review the SRS component locations (see COMPONENT LOCATION INDEX ) and precautions and procedures (see PRECAUTIONS AND PROCEDURES ) before performing repairs or servicing.

  1. Do the battery terminal disconnection procedure(See DISCONNECTION .
  2. Remove the steering column covers (see COLUMN COVER REMOVAL/INSTALLATION ).
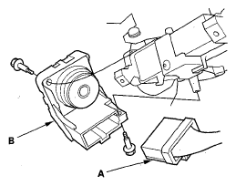
  3. Disconnect the 7P connector (A) from the ignition switch (B).
    Fig 1: Identifying 7P Connector And Ignition Switch
    G05487848Courtesy of AMERICAN HONDA MOTOR CO., INC.
  4. Remove the two screws and the ignition switch.
  5. Install the parts in the reverse order of removal.
  6. Do the battery terminal reconnection procedure (See RECONNECTION ).