LEMON Manuals: Even more car manuals for everyone: 1960-2025
Home >> Acura >> 2007 >> MDX >> Repair and Diagnosis >> Engine Mechanical >> Mechanical >> Engine Block >> Piston Ring Replacement
April 5, 2026: LEMON Manuals is launched! Read the announcement.

Piston Ring Replacement

  1. Remove the piston from the engine block (see CRANKSHAFT AND PISTON REMOVAL  ).
  2. Using a ring expander (A), remove the old piston rings (B).
    Fig 1: Identifying Piston Rings
    G05484795Courtesy of AMERICAN HONDA MOTOR CO., INC.
  3. Clean all the ring grooves thoroughly with a squared-off broken ring, or a ring groove cleaner with a blade that fits the piston grooves. File down the blade, if necessary. The top ring and second ring grooves are 1.2 mm (0.05 in.) wide, and the oil ring groove is 2.8 mm (0.11 in.) wide. Do not use a wire brush to clean the ring grooves, or cut the ring grooves deeper with the cleaning tool.
    NOTE: If the piston is to be separated from the connecting rod, do not install new rings yet.
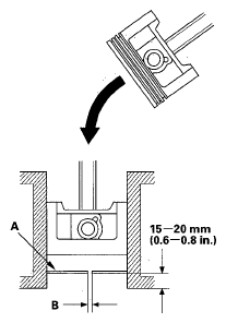
  4. Using a piston, push a new ring (A) into the cylinder bore 15-20 mm (0.6-0.8 in.) from the bottom.
    Fig 2: Identifying Ring Into Cylinder Bore
    G05484796Courtesy of AMERICAN HONDA MOTOR CO., INC.
  5. Measure the piston ring end-gap (B) with a feeler gauge:
    • If the gap is too small, check to see if you have the proper rings for your engine.
    • If the gap is too large, recheck the cylinder bore diameter against the wear limits (see step 4 on BLOCK AND PISTON INSPECTION  ).

    Piston Ring End-Gap 

    Top Ring: 

    Standard (New): 0.30-0.40 Mm (0.012-0.016 In.) 

    Service Limit: 0.60 Mm (0.024 In.) 

    Second Ring: 

    Standard (New): 0.40-0.55 Mm (0.016-0.022 In.) 

    Service Limit: 0.70 Mm (0.028 In.) 

    Oil Ring: 

    Standard (New): 0.20-0.70 Mm (0.008-0.028 In.) 

    Service Limit: 0.80 Mm (0.031 In.) 

  6. Install the rings as shown. The top ring (A) has a 1E mark and the second ring (B) has a 2E mark. The manufacturing marks (c) must face upward.
    Fig 3: Identifying Top Ring And Second Ring
    G05484797Courtesy of AMERICAN HONDA MOTOR CO., INC.
  7. After installing a new set of rings, measure the ring-to-groove clearance:

    Top Ring Clearance 

    Standard (New): 0.055-0.085 mm (0.0022-0.0033 in.) 

    Service Limit: 0.15 mm (0.006 in.) 

    Second Ring Clearance 

    Standard (New): 0.030-0.060 mm (0.0012-0.0024 in.) 

    Service Limit: 0.13 mm (0.005 in.) 

    Fig 4: Measuring Ring-To-Groove Clearance
    G05484798Courtesy of AMERICAN HONDA MOTOR CO., INC.
  8. Rotate the rings in their grooves to make sure they do not bind.
  9. Position the ring end gaps as shown:
    Fig 5: Identifying Ring End Gaps Position
    G05484799Courtesy of AMERICAN HONDA MOTOR CO., INC.