LEMON Manuals: Even more car manuals for everyone: 1960-2025
Home >> Acura >> 2007 >> MDX >> Repair and Diagnosis >> External Pages >> Different car >> Section 44 (Climate Control System) >> Refrigerant Recovery
April 5, 2026: LEMON Manuals is launched! Read the announcement.

Refrigerant Recovery

WARNING: This page is about a different car, the 2006 Acura MDX, 2005 Acura MDX, 2004 Acura MDX, and 2003 Acura MDX. However, it is still accessible from the selected car via links, so may be relevant.
CAUTION:
  • Air conditioning refrigerant or lubricant vapor can irritate your eyes, nose, or throat.
  • Be careful when connecting service equipment.
  • Do not breathe refrigerant or vapor.

Use only service equipment that is U.L.-listed and is certified to meet the requirements of SAE J2210 to remove HFC-134a (R-134a) from the air conditioning system.

If accidental system discharge occurs, ventilate work area before resuming service.

Additional health and safety information may be obtained from the refrigerant and lubricant manufacturers.

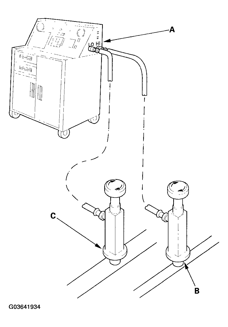
  1. Connect an R-134a refrigerant recovery/recycling/ charging station (A) to the high-pressure service port (B) and the low-pressure service port (C), as shown, following the equipment manufacturer's instructions.
    Fig 1: Connecting An R-134A Refrigerant Recovery/Recycling/ Charging Station To High-Pressure Service Port
    G03641934Courtesy of AMERICAN HONDA MOTOR CO., INC.
  2. Measure the amount of refrigerant oil removed from the A/C system after the recovery process is completed. Be sure to put the same amount of new refrigerant oil back into the A/C system before charging.