LEMON Manuals: Even more car manuals for everyone: 1960-2025
Home >> Acura >> 2007 >> MDX >> Repair and Diagnosis >> External Pages >> Different car >> Section 44 (Climate Control System) >> System Charging
April 5, 2026: LEMON Manuals is launched! Read the announcement.

System Charging

WARNING: This page is about a different car, the 2006 Acura MDX, 2005 Acura MDX, 2004 Acura MDX, and 2003 Acura MDX. However, it is still accessible from the selected car via links, so may be relevant.
CAUTION:
  • Air conditioning refrigerant or lubricant vapor can irritate your eyes, nose, or throat.
  • Be careful when connecting service equipment.
  • Do not breathe refrigerant or vapor.

Use only service equipment that is U.L.-listed and is certified to meet the requirements of SAE J2210 to remove HFC-134a (R-134a) from the air conditioning system.

If accidental system discharge occurs, ventilate work area before resuming service.

Additional health and safety information may be obtained from the refrigerant and lubricant manufacturers.

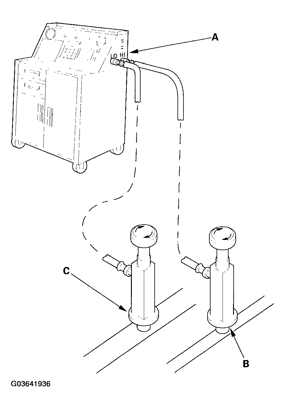
  1. Connect an R-134a refrigerant recovery/recycling/ charging station (A) to the high-pressure service port (B) and the low-pressure service port (C), as shown, following the equipment manufacturer's instructions.
    Fig 1: Connecting R-134A Refrigerant Recovery/Recycling/ Charging Station To High-Pressure Service Port
    G03641936Courtesy of AMERICAN HONDA MOTOR CO., INC.
  2. Evacuate the system (see SYSTEM EVACUATION  ).
  3. Add the same amount of new refrigerant oil to the system that was removed during recovery. Use only DENSO ND-OIL 8 refrigerant oil.
  4. Charge the system with the specified amount of R-134a refrigerant. Do not overcharge the system; the A/C compressor will be damaged.

    Select the appropriate units of measure for your refrigerant charging station.

    Refrigerant Capacity: 

    700 to 750 g 

    0.70 to 0.75 kg 

    1.5 to 1.7 lbs 

    24.7 to 26.5 oz 

  5. Check for refrigerant leaks (see REFRIGERANT LEAK TEST  ).
  6. Check for system performance (see A/C SYSTEM TEST  ).