LEMON Manuals: Even more car manuals for everyone: 1960-2025
Home >> Acura >> 2007 >> RL V6-3.5L >> Repair and Diagnosis >> Powertrain Management >> Computers and Control Systems >> Information Bus >> Testing and Inspection >> Component Tests and General Diagnostics >> MICU Input Test
April 5, 2026: LEMON Manuals is launched! Read the announcement.

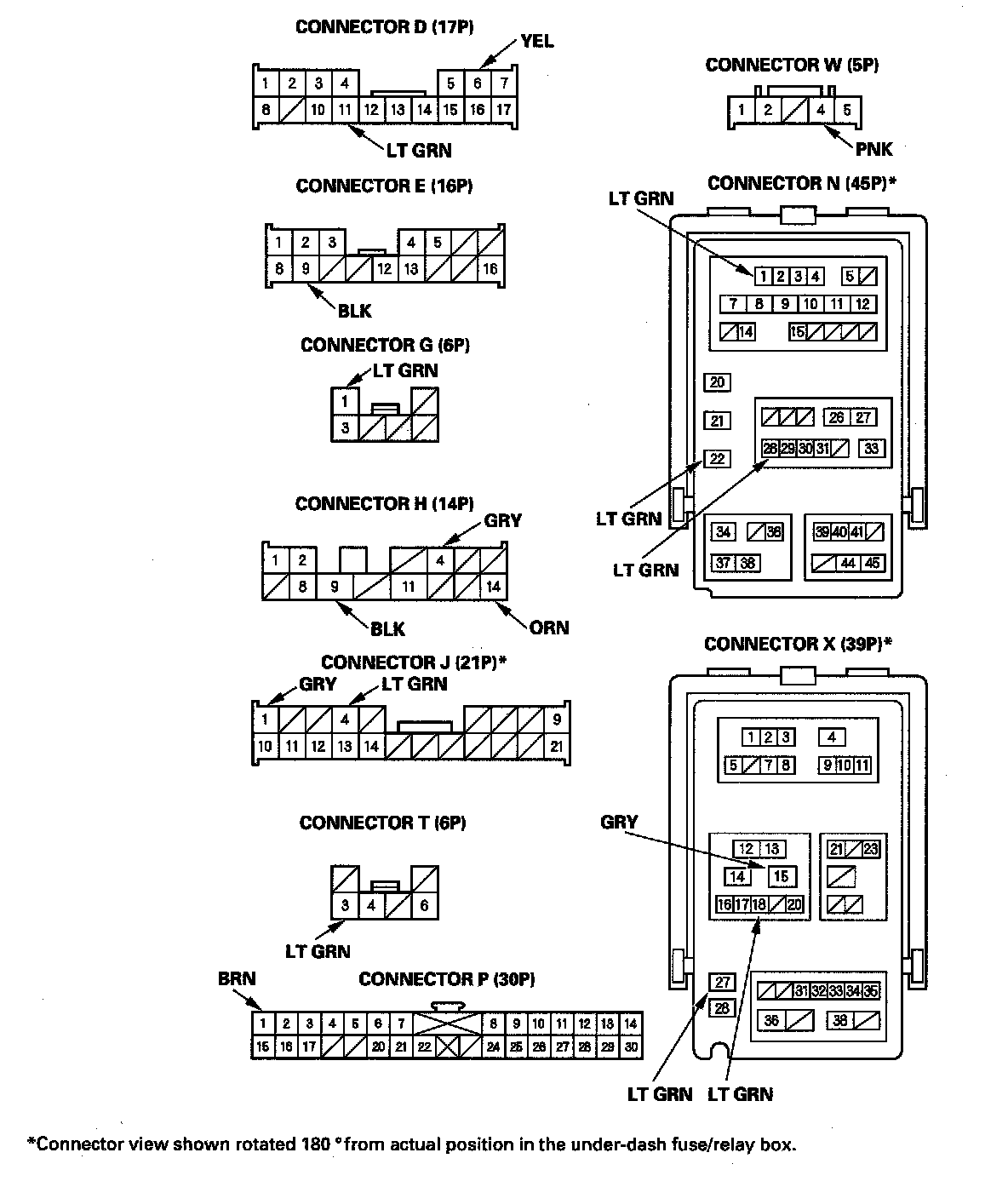
MICU Input Test

MICU Input Test

1. Turn the ignition switch OFF.
2. Remove the left kick panel.




3. Disconnect the driver's under-dash fuse/relay box connectors.

NOTE: All connector views are wire side of female terminals.

4. Inspect the connector and socket terminals to be sure they are all making good contact.
- If the terminals are bent, loose or corroded, repair them as necessary and recheck the system.
- If the terminals look OK, go to step 5.







5. With the connectors still disconnected, make these input tests at the connectors.
- If any test indicates a problem, find and correct the cause, then recheck the system.
- If all the input tests prove OK, go to step 6.




6. Reconnect the connectors to the MICU, and make these input tests at the connectors.
- If any test indicates a problem, find and correct the cause, then recheck the system.
- If all the input tests prove OK, the MICU must be faulty, replace the driver's under-dash fuse/relay box.