LEMON Manuals: Even more car manuals for everyone: 1960-2025
Home >> Acura >> 2007 >> RL >> Repair and Diagnosis (Single Page) >> Accessories & Equipment >> Entertainment Systems >> Audio System >> System Description >> Interface Dial Connector for Inputs and Outputs
April 5, 2026: LEMON Manuals is launched! Read the announcement.

Interface Dial Connector for Inputs and Outputs

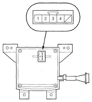
When replacing an interface dial connector, match the wires to the cavities listed in the following table.

Fig 1: Identifying Interface Dial Connector
G05497451Courtesy of AMERICAN HONDA MOTOR CO., INC.
WIRE CAVITY CHART

Cavity Wire Connects to
1 WHT Navigation unit (JOG)
2 GRY(1) Navigation unit (JOG Shield)
3 BLK Ground (G506)
4 PUR Interface dial power supply (ACC)
(1) The shielded wires have a heat-shrunk tube insulating the outside of the wire. The color of the insulating tube, typically black or dark gray, may not match the color of the wire listed on the schematic.