LEMON Manuals: Even more car manuals for everyone: 1960-2025
Home >> Acura >> 2007 >> RL >> Repair and Diagnosis >> Electrical >> Charging Systems >> Charging System >> Alternator Overhaul >> Alternator Disassembly
April 5, 2026: LEMON Manuals is launched! Read the announcement.

Alternator Disassembly

NOTE: Refer to the EXPLODED VIEW  as needed during this procedure.
  1. Test the alternator and regulator before you remove them (see ALTERNATOR AND REGULATOR CIRCUIT TROUBLESHOOTING  ).
  2. Remove the alternator (see ALTERNATOR REMOVAL AND INSTALLATION  ).
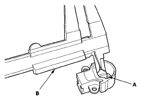
  3. If the front bearing needs replacing, remove the pulley locknut with a 10 mm wrench (A) and a 22 mm wrench (B). If necessary, use an impact wrench.
    Fig 1: Removing Pulley Locknut
    G05493860Courtesy of AMERICAN HONDA MOTOR CO., INC.
  4. Remove the three flange nuts.
    Fig 2: Identifying Flange Nuts
    G05493861Courtesy of AMERICAN HONDA MOTOR CO., INC.
  5. Remove the end cover (A) and the insulator (B). A.
    Fig 3: Identifying End Cover And Insulator
    G05493862Courtesy of AMERICAN HONDA MOTOR CO., INC.
  6. Remove the brush holder (A).
    Fig 4: Identifying Brush Holder
    G05493863Courtesy of AMERICAN HONDA MOTOR CO., INC.
  7. Remove the four bolts, then remove the rear housing assembly (A) and washer (B).
    Fig 5: Identifying Rear Housing Assembly And Washer
    G05493864Courtesy of AMERICAN HONDA MOTOR CO., INC.
  8. If you are not replacing the front bearing, go to step  13. Remove the rotor from the drive-end housing.
    Fig 6: Identifying Rotor And Drive-End Housing
    G05493865Courtesy of AMERICAN HONDA MOTOR CO., INC.
  9. Inspect the rotor shaft for scoring, and inspect the bearing journal surface in the drive-end housing for seizure marks.
    • If the rotor is damaged, replace the rotor assembly.
    • If the rotor is OK, go to step 10.
  10. Remove the front bearing retainer plate.
    Fig 7: Identifying Front Bearing Retainer Plate
    G05493866Courtesy of AMERICAN HONDA MOTOR CO., INC.
  11. Drive out the front bearing with a brass drift and hammer.
    Fig 8: Removing Front Bearing
    G05493867Courtesy of AMERICAN HONDA MOTOR CO., INC.
  12. Install a new front bearing in the drive-end housing with a hammer, the handle driver, and attachment (42 x 47 mm).
    Fig 9: Installing Front Bearing
    G05493868Courtesy of AMERICAN HONDA MOTOR CO., INC.

    Alternator Brush Inspection 

  13. Measure the length of both brushes (A) with a vernier caliper (B).
    • If either brush is shorter than the service limit, replace the brush holder assembly.
    • If the brush length is OK, go to step 14.

    Alternator Brush Length 

    Standard (New): 10.5 mm (0.41 in.) 

    Service Limit: 1.5 mm (0.06 in.) 

    Fig 10: Measuring Length Of Brushes
    G05493869Courtesy of AMERICAN HONDA MOTOR CO., INC.

    Rotor Slip Ring Test 

  14. Check for continuity between the slip rings (A).
    • If there is continuity, go to step 15.
    • If there is no continuity, replace the rotor assembly.
      Fig 11: Identifying Slip Rings, Rotor And Rotor Shaft
      G05493870Courtesy of AMERICAN HONDA MOTOR CO., INC.
  15. Check for continuity between each slip ring and the rotor (B) and the rotor shaft (C).
    • If there is no continuity, replace the rear housing assembly, and go to step 16.
    • If there is continuity, replace the rotor assembly.
  16. Assemble the alternator in the reverse order of disassembly, and note these items:
    • Be careful not to get any grease or oil on the slip rings.
    • If you removed the pulley, tighten its locknut to 110 N.m (11.2 kgf.m, 81.0 lbf.ft) when you reinstall it.