LEMON Manuals: Even more car manuals for everyone: 1960-2025
Home >> Acura >> 2007 >> TL Base >> Repair and Diagnosis (Single Page) >> Body & Frame >> Windows >> Power Windows >> Front Passenger's Power Window Switch Input Test
April 5, 2026: LEMON Manuals is launched! Read the announcement.

Front Passenger's Power Window Switch Input Test

NOTE: Make sure the ignition switch is OFF before disconnecting the passenger's power window switch.
  1. Before testing the power windows, troubleshoot the multiplex integrated control system using B-CAN System Diagnosis Test Mode A (see TROUBLESHOOTING - B-CAN SYSTEM DIAGNOSIS TEST MODE A ).
  2. Remove the front passenger's power window switch (see PASSENGER'S POWER WINDOW SWITCH TEST/REPLACEMENT  ).
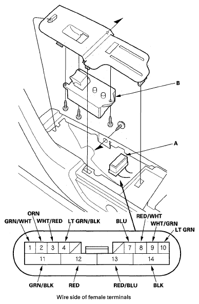
  3. Disconnect the 14P connector (A) from the front passenger's power window switch (B).
    Fig 1: Identifying Front Passenger's Power Window Switch And 14P Connector
    G05462753Courtesy of AMERICAN HONDA MOTOR CO., INC.
  4. Inspect the connector and socket terminals to be sure they are all making good contact.
    • If the terminals are bent, loose or corroded, repair them as necessary, and recheck the system.
    • If the terminals look OK, go to step 5.
  5. With the front passenger's power window switch still disconnected, make these input tests at the connector.
    • If any test indicates a problem, find and correct the cause, then recheck the system.
    • If all the input tests prove OK, go to step 6.
      WIRE TEST CONDITION REFERENCE

      Cavity Wire Test condition Test: Desired result Possible cause if desired result is not obtained
      1 GRN/WHT Under all conditions Check for continuity between the No. 1 terminal and under-dash fuse/relay box connector P (30P) terminal No. 12:
      There should be continuity.
      An open in the wire
      9 WHT/GRN Connect No. 9 terminal to ground Measure the voltage at under-dash fuse/relay box No. 24 (20 A) fuse:
      There should be battery voltage.
      • Blown No. 23 (P/W) (50 A) fuse in the under-hood fuse/ relay box
      • A short to ground in the wire
      • An open in the wire
      • Faulty power window relay
      • Faulty under-dash fuse/relay box
      12 RED Connect the No. 11 terminal to the No. 12 terminal with a jumper wire, and connect the No. 13 terminal to body ground. Check front passenger's power window motor operation:
      The window should go down.
      • Blown No. 26 (30 A) fuse in the under-dash fuse/relay box
      • Faulty front passenger's power window motor
      • A short to ground in the wire
      • An open in the wire
      13 RED/BLU Connect the No. 11 terminal to the No. 13 terminal with a jumper wire, and connect the No. 12 terminal to body ground. Check front passenger's power window motor operation:
      The window should go up.
  6. Reconnect the 14P connector to the switch. Turn the ignition switch ON (II) and perform the following input tests.
    • If any test indicates a problem, find and correct the cause, then recheck the system.
    • If all the input tests prove OK, the control unit must be faulty; replace the front passenger's power window switch.
      WIRE TEST CONDITION REFERENCE

      Cavity Wire Test condition Test: Desired result Possible cause if desired result is not obtained
      2 ORN Ignition switch ON (ID Measure the voltage to ground:
      There should be battery voltage.
      • Faulty front passenger's power window switch
      • A short to ground in the wire
      10 LT GRN Under all conditions Measure the voltage to ground:
      There should be 0.5 V or less.
      Faulty front passenger's power window switch
      3 WHT/RED Under all conditions Measure the voltage to ground:
      There should be battery voltage.
      • Blown No. 7 (7.5 A) fuse in the under-dash fuse/relay box
      • A short to ground in the wire
      • An open in the wire
      11 GRN/BLK Under all conditions Measure the voltage to ground:
      There should be battery voltage.
      • Blown No. 23 (P/W) (50 A) fuse in the under-hood fuse/ relay box
      • Blown No. 26 (30 A) fuse in the under-dash fuse/relay box
      • Faulty under-dash fuse/relay box
      • A short to ground in the wire
      • An open in the wire
      14 BLK Under all conditions Measure the voltage to ground:
      There should be less than 0.5 V.
      • Poor ground (G506)
      • An open in the wire
      8 RED/WHT Ignition switch ON (II), and front passenger's power window switch moving up or down Measure the voltage between the No. 8 and No. 10 terminals: There should be 0 V-about 5V-0V-about 5V repeatedly (a digital voltmeter reads about 2.5 V while the window moves).
      • Blown No. 7 (7.5 A) fuse in the under-dash fuse/relay box
      • Blown No. 26 (30 A) fuse in the under-dash fuse/relay box
      • An open in the wire (RED/ WHT, BLU, LT GRN, ORN)
      • Faulty front passenger's power window switch
      • Faulty front passenger's power window motor
      • A short to ground in the wire
      7 BLU Ignition switch ON (II), and front passenger's power window switch moving up or down Measure the voltage between the No. 7 and No. 10 terminals:
      There should be 0 V-about 5V-0V-about 5V repeatedly (a digital voltmeter reads about 2.5 V while the window moves).
  7. Reset the power window control unit (see RESETTING THE POWER WINDOW CONTROL UNIT  ).