LEMON Manuals: Even more car manuals for everyone: 1960-2025
Home >> Acura >> 2007 >> TL Base >> Repair and Diagnosis >> Body & Frame >> Windows >> Body Glass >> Rear Window Replacement
April 5, 2026: LEMON Manuals is launched! Read the announcement.

Rear Window Replacement

NOTE:
  • Put on gloves to protect your hands.
  • Wear eye protection while cutting the glass adhesive with piano wire.
  • Cover interior surfaces to avoid damaging them.
  • Do not damage the rear window defogger grid lines, window antenna grid lines, and terminals.
  1. Remove these items:
  2. Disconnect the window antenna connectors (A) and rear window defogger connectors (B).
    Fig 1: Identifying Window Antenna Connectors And Rear Window Defogger Connectors
    G05462059Courtesy of AMERICAN HONDA MOTOR CO., INC.
  3. If the old rear window will be reinstalled, make alignment marks across the glass and body with a grease pencil.
  4. Pull down the rear portion of the, headliner (A) by detaching the clips. Take care not to bend the headliner excessively, or you may crease or break it.
    Fig 2: Identifying Headliner Clips
    G05462060Courtesy of AMERICAN HONDA MOTOR CO., INC.
  5. Apply protective tape along the inside and outside edges of the body. Using an awl, make a hole through the adhesive from inside the vehicle at the corner portion of the rear window. Push a piece of piano wire through the hole, and wrap each end around a piece of wood.
  6. Remove the molding (A) from the lower edge of the rear window (B). If necessary, cut the molding with a utility knife.
    Fig 3: Identifying Lower Edge Of Rear Window Molding
    G05462061Courtesy of AMERICAN HONDA MOTOR CO., INC.
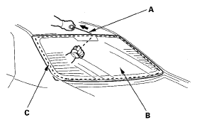
  7. With a helper on the outside, pull the piano wire (A) back and forth in a sawing motion. Hold the piano wire as close to the rear window (B) as possible to prevent damage to the body, and carefully cut through the adhesive (C) around the entire rear window.
    Fig 4: Cutting Adhesive Around Entire Rear Window
    G05462062Courtesy of AMERICAN HONDA MOTOR CO., INC.

    Cutting positions 

    Fig 5: Identifying Rear Window Cutting Positions
    G05462063Courtesy of AMERICAN HONDA MOTOR CO., INC.
  8. Carefully remove the rear window.
  9. With a putty knife, scrape the old adhesive smooth to a thickness of about 2 mm (0.08 in.) on the bonding surface around the entire rear window opening flange:
    • Do not scrape down to the painted surface of the body; damaged paint will interfere with proper bonding.
    • Remove the fasteners from the body.
  10. Clean the body bonding surface with a sponge dampened in isopropyl alcohol. After cleaning, keep oil, grease and water from getting on the surface.
  11. If the old rear window will be reinstalled, use a putty knife to scrape off all of the old adhesive, the moldings and the fasteners from the rear window. Clean the inside face and the edge of the rear window with isopropyl alcohol where new adhesive will be applied. Make sure the bonding surface is kept free of water, oil and grease.
  12. Attach the upper rubber dam (A), side rubber dams (B) with adhesive tape A, clips (C) with adhesive tape B, and fasteners (D) with adhesive tape C to the inside face of the rear window (E) as shown:
    • First attach the upper rubber dam, then attach the side rubber dams around the edge of the rear window. Be sure top of the side rubber dam contacts with bottom of the upper rubber dam. If necessary, cut the rubber dam.
    • Be sure the side rubber dam, clips, and fasteners line up with the alignment marks (F).
    • Be careful not to touch the windshield where adhesive will be applied.

      Adhesive tape A: Thickness 0.16 mm (0.006 in.) 

      Adhesive tape B: 

      • Thickness 0.4 mm (0.016 in.) 
      • Width 10 mm (0.39 in.) 

      Adhesive tape C: Thickness 0.8 mm (0.03 in.) 

      • Width 7 mm (0.28 in.) 
      Fig 6: Attaching Upper Rubber Dam, Side Rubber Dams With Adhesive Tape And Fasteners
      G05462064Courtesy of AMERICAN HONDA MOTOR CO., INC.
  13. Attach the molding (A) with adhesive tape (B) to the lower edge of the rear window (C):
    • After installing the molding, cut the ends (D) of the molding as shown.
    • Be careful not to touch the windshield where adhesive will be applied.

      Adhesive tape: 

      • Thickness 0.2 mm (0.008 in.) 
      • Width 5 mm (0.2 in.) 
      Fig 7: Attaching Molding With Adhesive Tape To Lower Edge Of Rear Window
      G05462065Courtesy of AMERICAN HONDA MOTOR CO., INC.
  14. Attach the fasteners (A) with adhesive tape to the rear window opening flange (B) of the body on both sides.

    Adhesive tape: Thickness 0.8 mm (0.03 in.) 

    Fig 8: Attaching Fasteners With Adhesive Tape To Rear Window Opening Flange Of Body
    G05462066Courtesy of AMERICAN HONDA MOTOR CO., INC.
  15. Set the rear window in the opening, and center it. Make alignment marks (A) across the rear window and body with a grease pencil at the four points shown. Make sure both upper clips (B) are in the body holes. Be careful not to touch the rear window where adhesive will be applied.
    Fig 9: Identifying Alignment Marks On Rear Window And Body
    G05462067Courtesy of AMERICAN HONDA MOTOR CO., INC.
  16. Remove the rear window.
  17. With a sponge, apply a light coat of glass primer along the edge of the rear window (A) between the dams (B) and molding (C) as shown, then lightly wipe it off with gauze or cheesecloth:
    • Do not apply body primer to the rear window, and do not get body and glass primer sponges mixed up.
    • Never touch the primed surfaces with your hands. If you do, the adhesive may not bond to the rear window properly, causing a leak after the rear window is installed.
    • Keep water, dust, and abrasive materials away from the primed surfaces.
      Fig 10: Applying Coat Of Glass Primer Along Edge Of Rear Window Between Dams And Molding
      G05462068Courtesy of AMERICAN HONDA MOTOR CO., INC.
  18. With a sponge, carefully apply a light coat of body primer to any exposed paint around the flange where new adhesive will be applied. Let the primer dry for at least 10 minutes:
    • Do not apply body primer to any remaining original adhesive on the flange.
    • Be careful not to mix up the body and glass primer sponges.
    • Never touch the primed surfaces with your hands.
      Fig 11: Applying Light Coat Of Body Primer To Any Exposed Paint Around Flange
      G05462069Courtesy of AMERICAN HONDA MOTOR CO., INC.
  19. Cut a "V" in the end of the nozzle (A) on the adhesive cartridge as shown.
    Fig 12: Cutting "V" In End Of Nozzle
    G05462070Courtesy of AMERICAN HONDA MOTOR CO., INC.
  20. Put the cartridge in a caulking gun, and run a bead of adhesive (A) around the edge of the rear window (B) between the dams (C) and molding (D) as shown. Apply the adhesive within 30 minutes after applying the glass primer. Make a slightly thicker bead at each corner.
    Fig 13: Applying Adhesive Around Edge Of Rear Window Between Dams And Molding
    G05462071Courtesy of AMERICAN HONDA MOTOR CO., INC.
  21. Use suction cups to hold the rear window over the opening, align it with the alignment marks you made in step  15, and set it down on the adhesive. Lightly push on the rear window until its edges are fully seated on the adhesive all the way around.
    NOTE: Do not open or close any of the doors for about an hour until the adhesive is dry.
  22. Scrape or wipe any excess adhesive off with a putty knife or towel. To remove adhesive from a painted surface or the rear window, use a soft shop towel dampened with isopropyl alcohol.
  23. After the adhesive has dried, spray water over the rear window and check for leaks. Mark the leaking areas, let the rear window dry, then seal with sealant. Let the vehicle stand for at least 4 hours after rear window installation. If the vehicle has to be used within the first 4 hours, it must be driven slowly.
  24. Reinstall all remaining removed parts.
    NOTE: Advise the customer not to do the following things for 2 to 3 days:
    • Slam the doors with all the windows rolled up.
    • Twist the body excessively (such as when going in and out of driveways at an angle or driving over rough, uneven roads).