LEMON Manuals: Even more car manuals for everyone: 1960-2025
Home >> Acura >> 2007 >> TL Base >> Repair and Diagnosis >> Body & Frame >> Windows >> Power Windows >> Passenger's Power Window Switch Test/Replacement >> Front Passenger's
April 5, 2026: LEMON Manuals is launched! Read the announcement.

Front Passenger's

NOTE: To test the front passenger's power window switch, refer to the input test (see FRONT PASSENGER'S POWER WINDOW SWITCH INPUT TEST  ).
  1. Remove the front passenger's door panel and arm rest (see FRONT DOOR PANEL REMOVAL/INSTALLATION ).
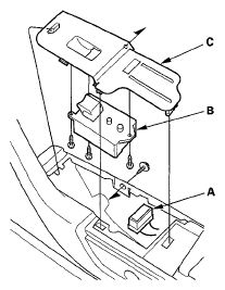
  2. Remove the screw and disconnect the connector (A) from the front passenger's power window switch (B), then remove the switch assembly from the door panel.
    Fig 1: Identifying Front Passenger's Power Window Switch And Connector
    G05462760Courtesy of AMERICAN HONDA MOTOR CO., INC.
  3. Remove the three mounting screws, then remove the front passenger's power window switch from the switch panel (C).
  4. Install in the reverse order of removal.
  5. Reset the power window control unit (see RESETTING THE POWER WINDOW CONTROL UNIT  ).