LEMON Manuals: Even more car manuals for everyone: 1960-2025
Home >> Acura >> 2007 >> TL Base >> Repair and Diagnosis >> Electrical >> Charging Systems >> Charging System >> Alternator Overhaul >> Overhaul
April 5, 2026: LEMON Manuals is launched! Read the announcement.

Alternator Overhaul: Overhaul

NOTE: Refer to the exploded view as needed during this procedure. See EXPLODED VIEW .
  1. Test the alternator and regulator before you remove them (see ALTERNATOR AND REGULATOR CIRCUIT TROUBLESHOOTING  ).
  2. Remove the alternator (see ALTERNATOR REMOVAL AND INSTALLATION  ).
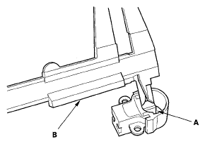
  3. If the front bearing needs replacing, remove the pulley locknut with a 10 mm wrench (A) and a 22 mm wrench (B). If necessary, use an impact wrench.
    Fig 1: Identifying Pulley Locknut
    G05457475Courtesy of AMERICAN HONDA MOTOR CO., INC.
  4. Remove the three flange nuts.
    Fig 2: Identifying Flange Nuts
    G05457476Courtesy of AMERICAN HONDA MOTOR CO., INC.
  5. Remove the end cover (A) and the terminal insulator (B).
    Fig 3: Identifying End Cover And Terminal Insulator
    G05457477Courtesy of AMERICAN HONDA MOTOR CO., INC.
  6. Remove the brush holder (A).
    Fig 4: Identifying Brush Holder
    G05457478Courtesy of AMERICAN HONDA MOTOR CO., INC.
  7. Remove the four bolts, then remove the rear housing assembly (A) and washer (B).
    Fig 5: Identifying Rear Housing Assembly And Washer Bolts
    G05457479Courtesy of AMERICAN HONDA MOTOR CO., INC.
  8. If you are not replacing the front bearing, go to step  13. Remove the rotor from the drive-end housing.
    Fig 6: Identifying Drive-End Housing
    G05457480Courtesy of AMERICAN HONDA MOTOR CO., INC.
  9. Inspect the rotor shaft for scoring, and inspect the bearing journal surface in the drive end housing for seizure marks.
    • If the rotor is damaged, replace the rotor assembly.
    • If the rotor is OK, go to step 10.
  10. Remove the front bearing retainer.
    Fig 7: Identifying Front Bearing Retainer Bolts
    G05457481Courtesy of AMERICAN HONDA MOTOR CO., INC.
  11. Drive out the front bearing with a brass drift and hammer.
    Fig 8: Driving Out Front Bearing With Brass Drift And Hammer
    G05457482Courtesy of AMERICAN HONDA MOTOR CO., INC.
  12. Install a new front bearing in the drive end housing with a hammer, the handle driver, and attachment.
    Fig 9: Installing Front Bearing In Drive End Housing
    G05457483Courtesy of AMERICAN HONDA MOTOR CO., INC.

    Alternator Brush Inspection 

  13. Measure the length of both brushes (A) with a vernier caliper (B).
    • If either brush is shorter than the service limit, replace the brush holder assembly.
    • If the brush length is OK, go to step 14.

    Alternator Brush Length 

    Standard (New): 10.5 mm (0.41 in.) 

    Service Limit: 1.5 mm (0.06 in.) 

    Fig 10: Measuring Length Of Brushes
    G05457484Courtesy of AMERICAN HONDA MOTOR CO., INC.

    Rotor Slip Ring Test 

  14. Check for continuity between the slip rings (A).
    • If there is continuity, go to step 15.
    • If there is no continuity, replace the rotor assembly.
      Fig 11: Checking Continuity Between Slip Rings
      G05457485Courtesy of AMERICAN HONDA MOTOR CO., INC.
  15. Check for continuity between each slip ring and the rotor (B) and the rotor shaft (C).
    • If there is no continuity, replace the rear housing assembly, and go to step 16.
    • If there is continuity, replace the rotor assembly.

    Alternator Reassembly 

  16. If you removed the pulley, put the rotor in the drive end housing, then tighten its locknut to 110 N.m (11.2 kgf.m, 81.0 lbf.ft).
  17. Remove any grease or any oil from the slip rings.
  18. Put the rear housing assembly and drive end housing/rotor assembly together, tighten the four through bolts.
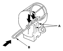
  19. Push the brushes (A) in, then insert a pin or drill bit (B) (about 1.6 mm (0.06 in.) diameter) to hold them there.
    Fig 12: Pushing Brushes
    G05457486Courtesy of AMERICAN HONDA MOTOR CO., INC.
  20. Install the brush holder, and pull out the pin.
    Fig 13: Pulling Out Pin
    G05457487Courtesy of AMERICAN HONDA MOTOR CO., INC.
  21. Install the end cover.
  22. After assembling the alternator, turn the pulley by hand to make sure the rotor turns smoothly and without noise.
  23. Install the alternator (see ALTERNATOR REMOVAL AND INSTALLATION  ) and drive belt (see DRIVE BELT INSPECTION  ).