LEMON Manuals: Even more car manuals for everyone: 1960-2025
Home >> Acura >> 2007 >> TL Base >> Repair and Diagnosis >> Engine Mechanical >> Mechanical >> Engine Block >> Block and Piston Inspection
April 5, 2026: LEMON Manuals is launched! Read the announcement.

Block and Piston Inspection

  1. Remove the pistons from the engine block (see CRANKSHAFT AND PISTON REMOVAL  ).
  2. Check the pistons for distortion or cracks.
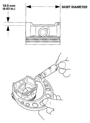
  3. Measure each piston diameter at a point 16.0 mm (0.63 in.) from the bottom of the skirt.

    Piston Diameter 

    Standard (New): 88.975-88.985 mm (3.5029-3.5033 in.) 

    Service Limit: 88.965 mm (3.5026 in.) 

    Oversize Piston Diameter 0.25: 89.225-89.235 mm (3.5128-3.5132 in.) 

    Fig 1: Measuring Piston Diameter
    G05457759Courtesy of AMERICAN HONDA MOTOR CO., INC.
  4. Measure wear and taper in direction X and Y at three levels in each cylinder as shown. If measurements in any cylinder are beyond the oversize bore service limit, replace the engine block. If the engine block has to be rebored, refer to step 7 after reboring.

    Cylinder Bore Size 

    Standard (New): 89.000-89.015 mm (3.5039-3.5045 in.) 

    Service Limit: 89.065 mm (3.5065 in.) 

    Oversize 0.25: 89.250-89.265 mm (3.5138-3.5144 in.) 

    Reboring Limit: 0.25 mm (0.01 in.) 

    Bore Taper Limit: (Difference between first and third measurement) 0.05 mm (0.002 in.) 

    Fig 2: Measuring Cylinder Bore Size
    G05457760Courtesy of AMERICAN HONDA MOTOR CO., INC.
  5. Hone any scored or scratched cylinder bores (see CYLINDER BORE HONING  ).
  6. Check the top of the engine block for warpage. Measure along the edges and across the center as shown.

    Engine Block Warpage 

    Standard (New): 0.07 mm (0.003 in.) max. 

    Service Limit: 0.10 mm (0.004 in.) 

    Fig 3: Measuring Engine Block Warpage
    G05457761Courtesy of AMERICAN HONDA MOTOR CO., INC.
  7. Calculate the difference between cylinder bore diameter and piston diameter. If the clearance is near or exceeds the service limit, inspect the piston and cylinder bore for excessive wear.

    Piston-to-Block Clearance 

    Standard (New): 0.015-0.040 mm (0.0006-0.0016 in.) 

    Service Limit: 0.08 mm (0.003 in.) 

    Fig 4: Measuring Piston-To-Block Clearance
    G05457762Courtesy of AMERICAN HONDA MOTOR CO., INC.