LEMON Manuals: Even more car manuals for everyone: 1960-2025
Home >> Acura >> 2007 >> TL Base >> Repair and Diagnosis >> Engine Performance >> System >> Fuel Supply System >> Fuel Line/Quick-Connect Fitting Installation
April 5, 2026: LEMON Manuals is launched! Read the announcement.

Fuel Line/Quick-Connect Fitting Installation

NOTE: Before you work on the fuel lines and fittings, read the "FUEL LINE/QUICK-CONNECT FITTING PRECAUTIONS  ".
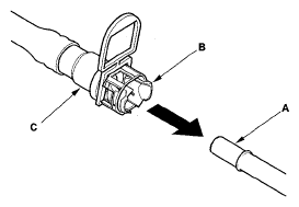
  1. Check the contact area (A) of the line (B) for dirt or damage, and clean it if needed.
    Fig 1: Checking Contact Area Of Line For Dirt Or Damage
    G05458299Courtesy of AMERICAN HONDA MOTOR CO., INC.
  2. Insert a new retainer (A) into the connector (B) if the retainer is damaged, or after:
    • replacing the fuel rail.
    • replacing the fuel feed line.
    • replacing the fuel pump.
    • replacing the fuel filter.
    • replacing the fuel gauge sending unit.
    • replacing the EVAP canister.
    • replacing the fuel vapor line.
    • removing the retainer from the line.
    • Use the same manufacturer retainer and the same size retainer when the replacing the retainer (see FUEL LINE/QUICK-CONNECT FITTING PRECAUTIONS  ).
      Fig 2: Inserting Retainer Into Connector
      G05458300Courtesy of AMERICAN HONDA MOTOR CO., INC.
  3. Before connecting a new fuel tube/quick-connect fitting assembly (A), remove the old retainer from the mating line.
    Fig 3: Identifying Fuel Tube/Quick-Connect Fitting Assembly
    G05458301Courtesy of AMERICAN HONDA MOTOR CO., INC.
  4. Align the quick-connect fittings with the line (A), and align the retainer locking tabs (B) with the connector grooves (C). Then press the quick-connect fittings onto the line until both retainer tabs lock with a clicking sound.
    NOTE: If it is hard to connect, put a small amount of new engine oil on the line end.

    Connection with new retainer 

    Fig 4: Identifying Connection With New Retainer
    G05458302Courtesy of AMERICAN HONDA MOTOR CO., INC.

    Connection to new fuel feed line 

    Fig 5: Identifying Connection To Fuel Feed Line
    G05458303Courtesy of AMERICAN HONDA MOTOR CO., INC.

    Reconnection to existing retainer 

    Fig 6: Identifying Reconnection To Exiting Retainer
    G05458304Courtesy of AMERICAN HONDA MOTOR CO., INC.
  5. When you are reconnecting the connector with the old retainer, make sure the connection is secure and the tabs (A) are firmly locked into place; check visually and also by pulling the connector (B). When you are replacing the fuel line with a new one, make sure you remove the ring pull (C) upwards after you confirm the connection is secure.
    NOTE: Before you remove the ring pull, make sure the fuel line connection is secure. If the connection is not secure, the ring pull could break when you try to remove it.

    Reconnection to existing retainer 

    Fig 7: Identifying Reconnection To Exiting Retainer
    G05458305Courtesy of AMERICAN HONDA MOTOR CO., INC.

    Connection to new fuel feed line 

    Fig 8: Identifying Connection To Fuel Feed Line
    G05458306Courtesy of AMERICAN HONDA MOTOR CO., INC.
  6. Reconnect the negative cable to the battery, and turn the ignition switch ON (II) (but do not operate the starter motor). The fuel pump will run for about 2 seconds, and fuel pressure will rise. Repeat two or three times, and check that there is no leakage in the fuel supply system.