LEMON Manuals: Even more car manuals for everyone: 1960-2025
Home >> Acura >> 2007 >> TL Base >> Repair and Diagnosis >> Steering >> Power Steering >> Power Steering System >> Pump Replacement
April 5, 2026: LEMON Manuals is launched! Read the announcement.

Pump Replacement

  1. Place a suitable container under the vehicle.
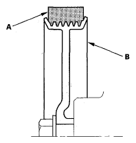
  2. Remove the right side engine component cover (A).
    Fig 1: Identifying Right Side Engine Component Cover
    G05461488Courtesy of AMERICAN HONDA MOTOR CO., INC.
  3. Drain the power steering fluid from the reservoir (see FLUID CHECK/REPLACEMENT  ).
  4. Remove the side engine mount bracket (A).
    Fig 2: Engine Mount Bracket With Torque Specifications
    G05461489Courtesy of AMERICAN HONDA MOTOR CO., INC.
  5. Remove the drive belt (A) from the pump pulley (see DRIVE BELT INSPECTION ).
    Fig 3: Drive Belt From Pump Pulley With Torque Specifications
    G05461490Courtesy of AMERICAN HONDA MOTOR CO., INC.
  6. Cover the auto-tensioner, alternator, and A/C compressor with several shop towels to protect them from spilled power steering fluid. Disconnect the pump inlet hose (B) and pump outlet hose (C) from the pump (D), and plug them. Take care not to spill the fluid on the body or parts. Wipe off any spilled fluid at once. Do not turn the steering wheel with the pump removed.
  7. Remove the pump mounting bolts (E).
  8. Cover the opening of the pump with a piece of tape to prevent foreign material from entering the pump.
  9. Connect the pump inlet hose and pump outlet hose onto the new pump with a new O-ring (F).
  10. Loosely install the pump in the pump bracket with the mounting bolts, then tighten the pump fittings securely.
  11. Tighten the pump mounting bolts to the specified torque.
  12. Install the drive belt (A).

    Note these items during belt installation:

    • Make sure that the belt is properly positioned on the pulleys (B).
    • Do not get power steering fluid or grease on the auto-tensioner, alternator, A/C compressor, and drive belt or pulley faces. Clean off any fluid or grease before installation.
      Fig 4: Identifying Drive Belt Installation Position
      G05461491Courtesy of AMERICAN HONDA MOTOR CO., INC.
  13. Install the side engine mount bracket. Tighten the bolts to the specified torque.
  14. Fill the reservoir to the upper level line (see FLUID CHECK/REPLACEMENT  ).
  15. Install the right side engine component cover.