LEMON Manuals: Even more car manuals for everyone: 1960-2025
Home >> Acura >> 2007 >> TL Base >> Repair and Diagnosis >> Transmission >> Automatic Trans >> Automatic Transmission >> Countershaft Disassembly >> Exploded View
April 5, 2026: LEMON Manuals is launched! Read the announcement.

Exploded View

Fig 1: Exploded View Of Countershaft With Torque Specifications
G05459226Courtesy of AMERICAN HONDA MOTOR CO., INC.
NOTE: Refer to the Exploded View as needed during the following procedure.
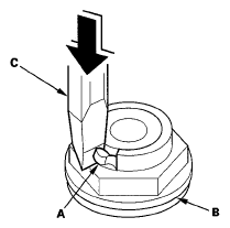
  1. Cut the lock tab (A) of the countershaft locknut (B) using a chisel (C).
    NOTE: Keep all of the chiseled particles out of the countershaft.
    Fig 2: Cutting Lock Tab Of Countershaft Locknut Using Chisel
    G05459227Courtesy of AMERICAN HONDA MOTOR CO., INC.
  2. Hold the countershaft securely using a wrench and a vise, loosen the locknut, and remove it. The locknut has left-hand threads.
    Fig 3: Holding Countershaft Securely Using Wrench And Vise
    G05459228Courtesy of AMERICAN HONDA MOTOR CO., INC.
  3. Place the countershaft 5th gear (A) on press bases (B), and place a shaft protector (C) between the countershaft (D) and a press to prevent damaging the countershaft.
    Fig 4: Identifying Countershaft 5th Gear, Bases, Shaft Protector And Countershaft
    G05459229Courtesy of AMERICAN HONDA MOTOR CO., INC.
  4. Support the bottom of the countershaft with one hand, then press the countershaft out of the press-fitted bearing (E) and the press-fitted reverse selector hub. The countershaft will drop down after pressing it out of the press-fitted reverse selector hub. Some reverse selector hubs are not press-fitted, and the countershaft will drop down after pressing it out of the press-fitted bearing.
  5. Remove the remaining parts from the countershaft.
  6. Inspect the bearing for galling and rough movement.
  7. Check the shaft bearing surfaces for scoring and excessive wear, and check the shaft splines for excessive wear and damage.
    NOTE: If the countershaft is worn or damaged, replace the countershaft with the same letter (A, B, or C) for identification as the identifying letter on the final driven gear.
  8. Check the idler gear axial clearance and the 4th gear axial clearance (see COUNTERSHAFT IDLER GEAR AND 4TH GEAR AXIAL CLEARANCE INSPECTION  ).