LEMON Manuals: Even more car manuals for everyone: 1960-2025
Home >> Acura >> 2007 >> TL V6-3.2L >> Repair and Diagnosis >> Cruise Control >> Cruise Control Relay >> Testing and Inspection
April 5, 2026: LEMON Manuals is launched! Read the announcement.

Cruise Control Relay: Testing and Inspection

Power Relay Test




Use this chart to identify the type of relay, then do the test listed for it.

NOTE: For the turn signal/hazard relay input test. Turn Signal/Hazard Relay Input Test

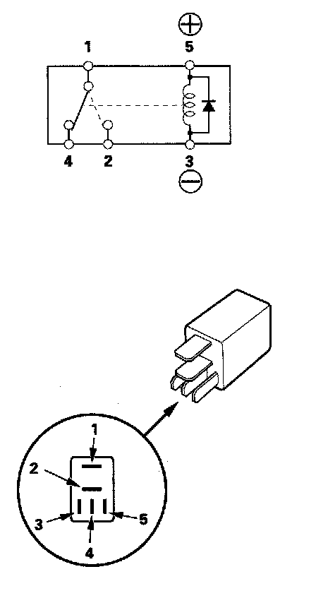
Five-terminal type




Check for continuity between the terminals.

- There should be continuity between the No. 1 and No. 2 terminals when battery positive terminal is connected to the No. 5 terminal, and battery negative terminal is connected to the No. 3 terminal.
- There should be continuity between the No. 1 and No. 4 terminals when power is disconnected.