LEMON Manuals: Even more car manuals for everyone: 1960-2025
Home >> Acura >> 2007 >> TSX Automatic >> Repair and Diagnosis (Single Page) >> Transmission >> Automatic Trans >> Automatic Transmission >> System Description >> Electronic Control System >> Lock-up Control
April 5, 2026: LEMON Manuals is launched! Read the announcement.

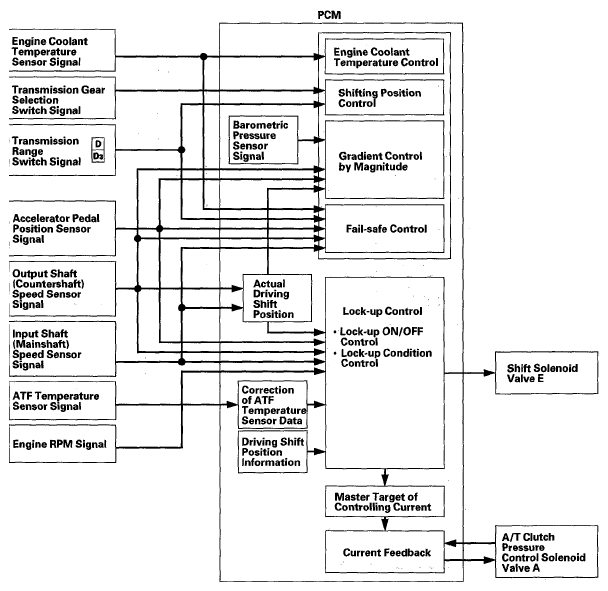
Lock-up Control

Shift solenoid valve E controls the hydraulic pressure to switch the lock-up shift valve and lock-up ON and OFF. The PCM actuates shift solenoid valve E and A/T clutch pressure control solenoid valve A to control the torque converter clutch lock-up. When shift solenoid valve E is turned ON, lock-up starts.

A/T clutch pressure control solenoid valve A regulates and applies the hydraulic pressure to the lock-up control valve to control the amount of the lock-up.

The lock-up mechanism operates in 2nd, 3rd, 4th, and 5th gears in D, 2nd and 3rd gears in D3, and 3rd, 4th, and 5th gears in M.

Fig 1: Lock-Up Control Power Flow Diagram
G05491167Courtesy of AMERICAN HONDA MOTOR CO., INC.