LEMON Manuals: Even more car manuals for everyone: 1960-2025
Home >> Acura >> 2007 >> TSX L4-2.4L >> Repair and Diagnosis >> Powertrain Management >> Computers and Control Systems >> Description and Operation >> Electronic Throttle Control System
April 5, 2026: LEMON Manuals is launched! Read the announcement.

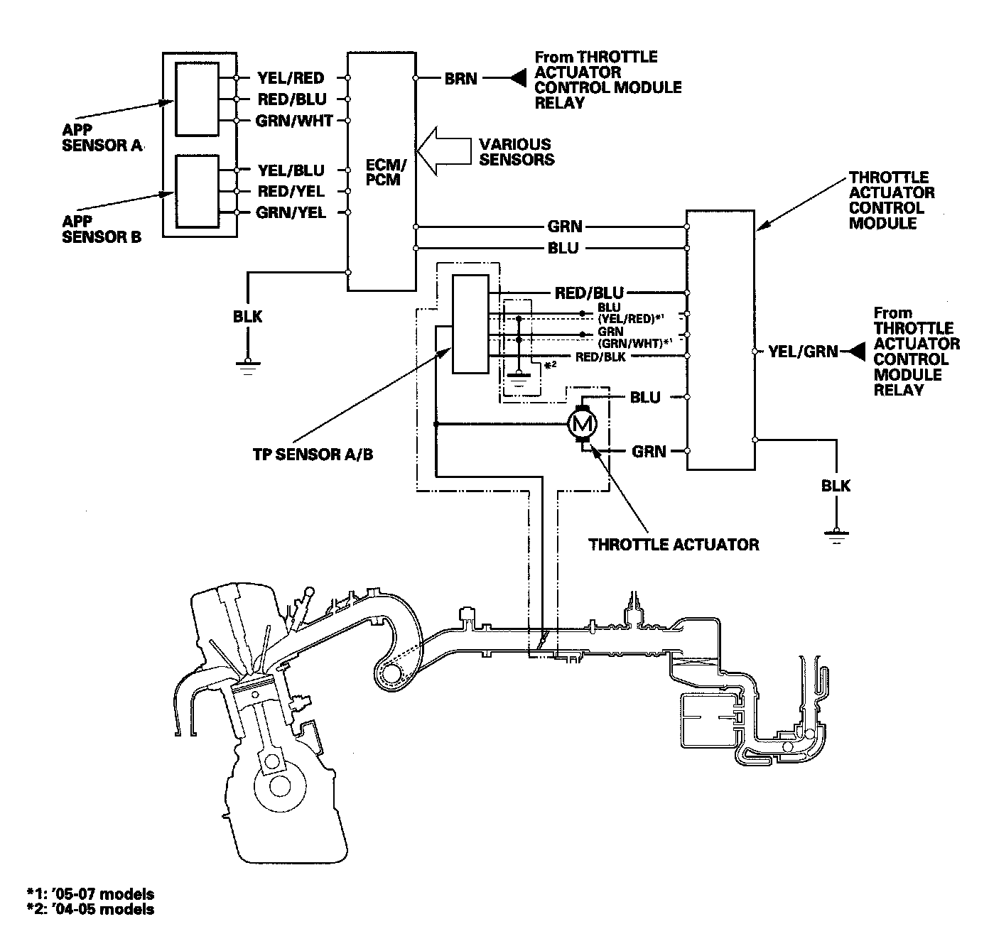
Electronic Throttle Control System




Electronic Throttle Control System Diagram
The electronic throttle control system consists of the throttle actuator, the throttle position (TP) sensor A/B, the accelerator pedal position (APP) sensor A/B, the throttle actuator control module, and the ECM/PCM.The throttle is electronically controlled by this system.