LEMON Manuals: Even more car manuals for everyone: 1960-2025
Home >> Acura >> 2008 >> MDX V6-3.7L >> Repair and Diagnosis >> Relays and Modules >> Relays and Modules - Powertrain Management >> Relays and Modules - Computers and Control Systems >> Main Relay (Computer/Fuel System) >> Testing and Inspection
April 5, 2026: LEMON Manuals is launched! Read the announcement.

Main Relay (Computer/Fuel System): Testing and Inspection

Power Relay Test

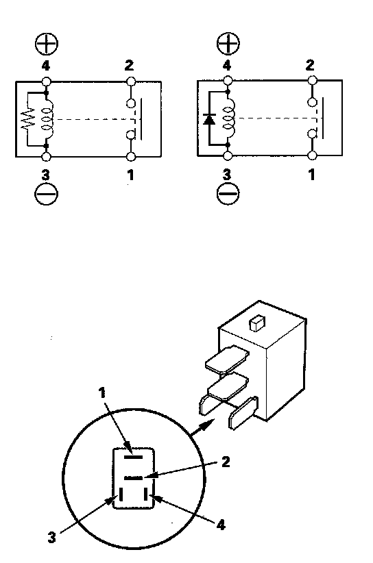
Use this chart to identify the type of relay, then do the test listed for it.






NOTE: The following relays are part of the relay control module: PGM-FI main relay 1, ignition coil relay, PGM-FI subrelay and ETCS relay. To test these relays, go to relay control module test. Testing and Inspection

Normally-open type

Check for continuity between the terminals.

- There should be continuity between the No. 1 and No. 2 terminals when battery positive terminal is connected to the No. 4 terminal, and battery negative terminal is connected to the No. 3 terminal.
- There should be no continuity between the No. 1 and No. 2 terminals when power is disconnected.