LEMON Manuals: Even more car manuals for everyone: 1960-2025
Home >> Acura >> 2008 >> RDX L4-2.3L Turbo >> Repair and Diagnosis >> Heating and Air Conditioning >> Control Assembly >> Service and Repair >> Audio-HVAC Display Unit Removal/Installation
April 5, 2026: LEMON Manuals is launched! Read the announcement.

Audio-HVAC Display Unit Removal/Installation

Audio-HVAC Display Unit Removal/Installation

(without navigation)


NOTE:
- Put on gloves to protect your hands.
- Take care not to scratch the dashboard.

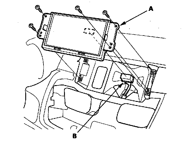
1. Remove the center panel.
2. Remove the screws, then pull out the audio-HVAC display unit (A).






3. Disconnect the connector (B) and remove the audio-HVAC display unit.
4. Install the audio-HVAC display unit in the reverse order of removal.