LEMON Manuals: Even more car manuals for everyone: 1960-2025
Home >> Acura >> 2008 >> RL V6-3.5L >> Repair and Diagnosis >> Relays and Modules >> Relays and Modules - Windows and Glass >> Power Window Control Module >> Testing and Inspection >> Component Tests and General Diagnostics >> Front Passenger's MPCS Unit Input Test
April 5, 2026: LEMON Manuals is launched! Read the announcement.

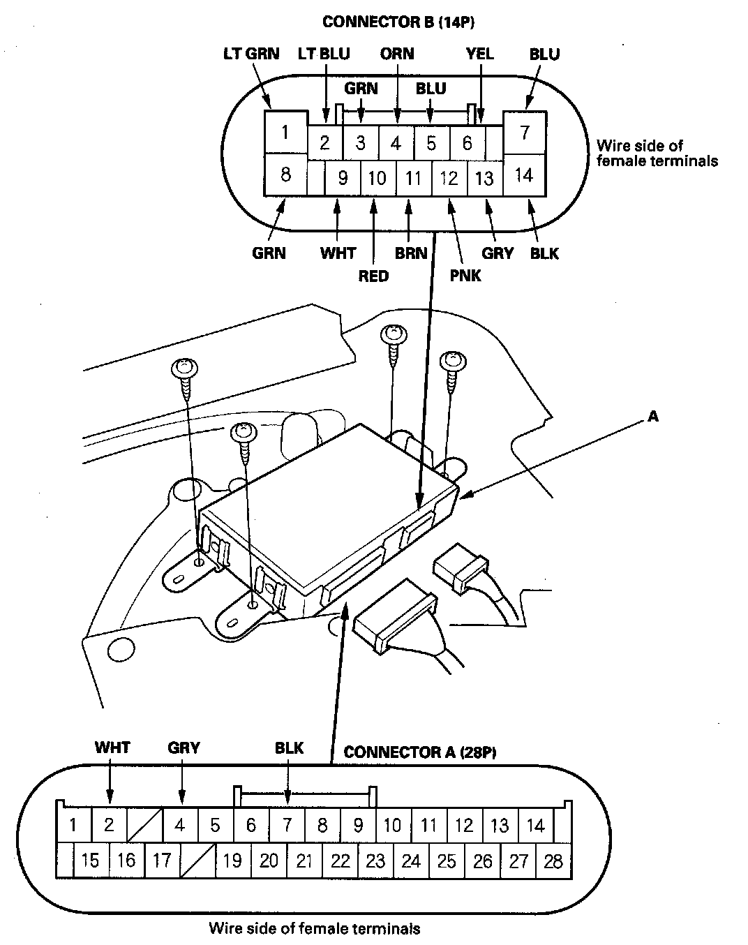
Front Passenger's MPCS Unit Input Test

Front Passenger's MPCS Unit Input Test

1. Turn the ignition switch OFF.
2. Remove the front passenger's door panel.
3. Disconnect front passenger's MPCS unit (A) connectors A (28P) and B (14P).






4. Inspect the connector and socket terminals to be sure they are all making good contact.
- If the terminals are bent, loose or corroded, repair them as necessary and recheck the system.
- If the terminals look OK, go to step 5.

5. With the connectors still disconnected, make these input tests at the connectors.
- If any test indicates a problem, find and correct the cause, then recheck the system.
- If all the input tests prove OK, go to step 6.









6. Reconnect the connectors to the front passenger's MPCS unit, and make these input tests at the connectors.
- If any test indicates a problem, find and correct the cause, then recheck the system.
- If all the input tests prove OK, the control unit must be faulty; replace the front passenger's MPCS unit and go to step 7.






7. Reset the power window control unit.