LEMON Manuals: Even more car manuals for everyone: 1960-2025
Home >> Acura >> 2009 >> CSX Base, Automatic >> Repair and Diagnosis (Single Page) >> Accessories & Equipment >> Infotainment >> Audio System >> System Description >> GA-Net Bus Configuration
April 5, 2026: LEMON Manuals is launched! Read the announcement.

GA-Net Bus Configuration

The GA-Net bus passes audio and navigation commands throughout the navigation and audio components. These commands include navigation touch screen and hard button signals, audio/XM selections by voice, and XM station and music title names. Because the entire bus is daisy chained between components (see diagram), any open or short in the GA-Net bus harness will cause any or all of these functions to become inoperative. Naturally the addition of any audio accessory must maintain the continuity of the GA-Net bus by installing the Y cable included with the accessory kit.

Fig 1: GA-Net Bus Configuration Diagram
G06467227Courtesy of AMERICAN HONDA MOTOR CO., INC.

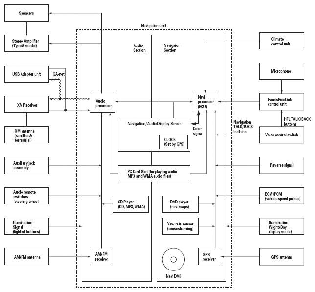
With navigation 

Fig 2: Audio System Diagram (With Navigation)
G06467228Courtesy of AMERICAN HONDA MOTOR CO., INC.
NOTE: All items may not apply to this vehicle. See the owner's manual for more information.

Audio Glossary 

AUDIO GLOSSARY CHART

Item Definition
Active noise cancellation The active noise cancellation system cancels some of the vehicle noise. This occurs in the 1,500 2,400 rpm range. Microphones detect the low frequency sound, and the system outputs a canceling sound from the audio speaker.
AM (Amplitude Modulation) The type of transmission used in the standard radio broadcast band from 530 to 1710 kHz.
Amplifier A device that increases the level of a signal by increasing the current or voltage.
Antenna A device used to send or receive electromagnetic waves through the air.
ATA (PC Card) A type of card that has been tested for use in playing WMA, and MP3 music files in the PC Card slot. Sizes of up to 1 GB have been tested.
Audio remote switch The switches on the steering wheel that control the audio system.
Auxiliary jack Allows the customer to use a portable audio device to input audio recordings.
Balance A control that changes the relative volume of the left and right channels.
Band A range of frequencies between two definite limits. Bands are assigned by the Federal Communications Commission for specific uses.
Bass An adjustment for the low frequency sounds of around 160 Hz and below.
Byte A unit of storage for computer files and memory. A CD holds approximately 700 million bytes.
Cassette Audio or video magnetic tape container having two reels. Customers can insert it for play back
Compact flash A standard for small-size (3 x 4 cm), memory cards used in mobile computers, PDAs, digital cameras. Compact flash memory cards are available in size of 32 MB up to 4 GB or more and can be played in the audio PC slot. Sizes above 1 GB have not been tested.
CD (Compact Disc) A 4.5-inch plastic disc containing digital audio recording that is played optically on a laser equipped player. Never use discs with a paper label. In a hot vehicle, labels can curl up and jam the unit.
CD (audio disc) changer CD player that can store and play more than one CD. Two types are available. Some units accept CDs fed into the changer one at a time, and others accept a magazine (with CDs stacked in a container).
CD player A component designed to play compact disc recordings using a laser optical pickup. The signal from a CD player usually requires amplification.
Decibels (db) A method of measuring sound or radio signal strength received by the audio unit antenna.
Distortion Inexact reproduction of an audio signal caused by playing music at levels the audio system cannot handle.
Dolby (noise reduction) A processing system developed by Dolby Laboratories that reduces the background noise on recording media. The result is a cleaner playback from the audio system.
DUET A serial data communication line used for sub display.
DVD (Digital Versatile Disc) A 4.5-inch CD-like format used for storing movies with digital audio and video features. The DVD-A format is a DVD format designed for DVD audio systems. Some vehicles can play DVD and DVD-A formats.
Equalizer A device that changes the relative volume of individual frequency bands to suit personal tastes of the listener.
Fader The control that adjusts the relative volume levels of front and rear speakers in a four-speaker system.
Format To prepare a PC Card to receive files this function is done on a PC. Always choose either FAT or FAT32, as the NTFS format is not accepted by the system. Pick the default sectors for the format method selected.
FM (Frequency Modulation) The form of modulation used for radio and television sound transmission in most of the world. Less prone to interference than AM. The FM broadcast band in North America covers roughly 87.7 to 107.9 MHz.
GA-Net The GA-Net allows the audio unit to communicate with all the audio and navigation components in a vehicle. If there is an open in the GA-Net, or components, components or the entire audio and navigation system may appear inoperative.
GB (Gigabyte) A unit of memory or disk storage equal to billion bytes (1000 million bytes).
HDD Abbreviation for hard disc drive. They are sensitive to heat and it is not recommended that they be used in the PC card slot for playing audio files.
Hertz (Hz) The unit of frequency equal to one cycle per second (cps). One kilohertz (kHz) equals 1,000 cps; one megahertz (MHz) equals 1 million cps.
Integrated amplifier A component that combines a pre amp and a power amp into a single unit. A receiver combines an integrated amp and a tuner into a single unit.
Jewel case The hard plastic case that contains a compact disc or DVD. Always use a jewel case to prevent scratches on the underside of a CD or DVD.
LCD (Liquid Crystal Display) A type of digital display that changes reflectance or transmittance when an electrical field is applied to it.
Memory Circuitry or devices that hold information in electrical or magnetic form, such as the AM/FM radio presets.
MB (Megabyte) One million bytes. Written as 1 MB. Megabytes are used as a measure of digital storage space. For example, a CD can hold 650 MB.
Mic An abbreviation for microphone. For vehicles with navigation, the microphone accepts navigation voice commands to control audio and navigation functions.
MP3 music files MP3 is an audio coding format. MP3 is a popular audio compression format on the Internet and computers. CDs and PC Cards with these files can be played on some vehicle's audio system.
Mute When the navigation gives guidance, the front speakers are muted (no music). When you use the voice control system, all of the speakers are muted.
Noise Unwanted random sounds like buzzing, hiss, pops, static, whine, etc.
PC card The slot used for playing MP3 and WMA music files. The PC Card is usually a combination of a small flash card in a PCMCIA adaptor that slides into the slot. The ATA, SD, and compact flash types of cards have been tested up to 1 GB.
PCMCIA A computer standard for the slot that the PC card slides into. Another term for the PC card slot.
Processor The part of an audio device that performs tasks/calculations. In the audio unit the processor handles muting to allow the navi to speak voice commands, and the decoding/playback of the sound files etc.
Radio A head unit that combines a tuner, a preamplifier, and often a power-amplifier.
Route guidance (RG) Spoken voice used for turn-by-turn navigation from the audio speakers.
SCF (Cold Start Fix) screens These screens are displayed if the system requires a GPS initialization. The vehicle should be moved outside into an open area away from buildings/power lines.
Stereo A recording of at least two channels where you can hear sound or music from the left or right side.
SD (Secure Digital) card This compact type of memory card allows for fast data transfer and has built-in security functions. SD cards have a small write-protection switch on the side.
Shield A metallic foil or braided wire layer surrounding conductors which are designed to prevent electrostatic or electromagnetic interference (noise) from external sources such as buzzing, or popping sounds heard on the speakers.
Speaker (Loudspeaker) A device that converts electrical energy into acoustical energy (sound).
Speed-sensitive volume compensation (SVC) The SVC increases the audio volume to compensate for increased interior noise when the vehicle drivers at freeway speeds.
Subwoofer A loudspeaker made to reproduce the lowest audio frequencies, about 25 Hz to 125 Hz.
Track A sound recording on a CD, tape, or PC Card.
Treble An adjustment to control the volume of the high frequency sounds.
Tuner A component (or part of a component) that receives radio signals and selects one broadcast from many.
Tweeter A speaker designed to reproduce the higher frequencies (treble) only.
USB Universal Serial Bus. The USB is used for playing the compressed audio files (MP3, WMA, and AAC) on the external device through the audio unit.
Voice coil A coil of wire wrapped around a tube and then attached to the speaker cone or diaphragm. When an audio signal is applied, the coil becomes an electromagnet and interacts with the permanent magnet causing the come or diaphragm to vibrate. We interpret this vibrations as sound.
Volume control Allows you to control the loudness of the music.
WMA music file Windows Media Audio File. This is an accepted format for music files to be played on either a CD-R, a CD-RW or a PC Card.
Woofer A speaker that is designed to reproduce low (bass) frequencies only.
XM radio Satellite based radio transmission, which also uses a ground based repeater network to ensure seamless reception. The channels originate from XM's broadcast center, in Washington, DC, and uplink to two satellites. These satellites transmit the signal across the entire continental United States.
XM receiver The external component that receives and processes the XM signals from the XM satellites, and terrestrial (land) stations. The audio unit communicates to the XM receiver over the GA-Net bus.