LEMON Manuals: Even more car manuals for everyone: 1960-2025
Home >> Acura >> 2009 >> CSX Base, Automatic >> Repair and Diagnosis >> Transmission >> Automatic Trans >> Automatic Transmission >> A/T Gear Position Indicator >> Transmission Range Switch Replacement
April 5, 2026: LEMON Manuals is launched! Read the announcement.

Transmission Range Switch Replacement

  1. Raise the vehicle on a lift, or apply the parking brake, block the rear wheels, and raise the front of the vehicle. Make sure it is securely supported.
  2. Shift to the N position.
  3. Remove the transmission range switch cover.
    Fig 1: Identifying Transmission Range Switch Cover
    G06265158Courtesy of AMERICAN HONDA MOTOR CO., INC.
  4. Remove the transmission range switch.
    Fig 2: Identifying Transmission Range Switch
    G06265159Courtesy of AMERICAN HONDA MOTOR CO., INC.
  5. Make sure the control shaft is in the N position. If necessary, move the shift lever to the N position.
    NOTE: Do not use the selector control shaft to adjust the shift position. If the control shaft tips are squeezed together it will cause a faulty signal or position due to play between the selector control shaft and switch.
    Fig 3: Identifying Shift Lever To N Position
    G06265160Courtesy of AMERICAN HONDA MOTOR CO., INC.
  6. Align the cutouts (A) on the rotary-frame with the neutral positioning cutouts (B) on the transmission range switch (C), then put a 2.0 mm (0.08 in.) feeler gauge blade (D) in the cutouts to hold the switch in the N position.
    NOTE: Be sure to use a 2.0 mm (0.08 in.) blade or equivalent to hold the switch in the N position.
    Fig 4: Positioning Cutouts On Transmission Range Switch
    G06265161Courtesy of AMERICAN HONDA MOTOR CO., INC.
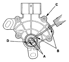
  7. Install the transmission range switch (A) gently on the selector control shaft (B) while holding it in the N position with the 2.0 mm (0.08 in.) blade (C).
    Fig 5: Identifying Transmission Range Switch And Selector Control Shaft
    G06265162Courtesy of AMERICAN HONDA MOTOR CO., INC.
  8. Tighten the bolts on the transmission range switch while you continue to hold the N position. Do not move the transmission range switch when tightening the bolts. Remove the feeler gauge.
    Fig 6: Identifying Transmission Range Switch Bolts
    G06265163Courtesy of AMERICAN HONDA MOTOR CO., INC.
  9. Check the connectors for rust, dirt, or oil, clean or repair if necessary, then connect the connector securely.
  10. Turn the ignition switch ON (II). Move the shift lever through all positions, and check the transmission range switch synchronization with the A/T gear position indicator.
  11. Check that the engine will start in the P and N positions, and will not start in any other shift lever position.
  12. Check that the back-up lights come on when the shift lever is in the R position.
  13. Allow the front wheels to rotate freely, then start the engine, and check the shift lever operation.
  14. Install the transmission range switch cover (A).
    Fig 7: Identifying Transmission Range Switch Cover
    G06265164Courtesy of AMERICAN HONDA MOTOR CO., INC.