LEMON Manuals: Even more car manuals for everyone: 1960-2025
Home >> Acura >> 2009 >> CSX Base, Standard >> Repair and Diagnosis >> Electrical >> Charging Systems >> Charging System >> Alternator Overhaul >> Overhaul
April 5, 2026: LEMON Manuals is launched! Read the announcement.

Alternator Overhaul: Overhaul

NOTE: Refer to the EXPLODED VIEW  as needed during this procedure.
  1. Test the alternator and regulator before you remove them (see ALTERNATOR AND REGULATOR CIRCUIT TROUBLESHOOTING ).
  2. Remove the alternator (see ALTERNATOR REMOVAL AND INSTALLATION ).
  3. If the front bearing needs replacing, remove the pulley locknut with a 10 mm wrench (A) and a 22 mm wrench (B). If necessary, use an impact wrench.
    Fig 1: Removing Pulley Locknut
    G06265460Courtesy of AMERICAN HONDA MOTOR CO., INC.
  4. Remove the harness stay and the three flange nuts from the alternator.
    Fig 2: Identifying Harness Stay And Flange Nuts From Alternator
    G06265461Courtesy of AMERICAN HONDA MOTOR CO., INC.
  5. Remove the end cover.
    Fig 3: Identifying End Cover
    G06265462Courtesy of AMERICAN HONDA MOTOR CO., INC.
  6. Remove the brush holder.
    Fig 4: Identifying Brush Holder
    G06265463Courtesy of AMERICAN HONDA MOTOR CO., INC.
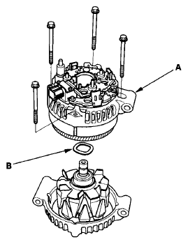
  7. Remove the four bolts, then remove the rear housing assembly (A), and washer (B).
    Fig 5: Identifying Rear Housing Assembly And Washer With Bolts
    G06265464Courtesy of AMERICAN HONDA MOTOR CO., INC.
  8. If you are not replacing the front bearing, go to step  13. Remove the rotor from the drive end housing.
    Fig 6: Identifying Rotor From Drive End Housing
    G06265465Courtesy of AMERICAN HONDA MOTOR CO., INC.
  9. Inspect the rotor shaft for scoring, and inspect the bearing journal surface in the drive end housing for seizure marks.
    • If the rotor is damaged, replace the rotor assembly.
    • If the rotor is OK, go to step 10.
  10. Remove the front bearing retainer plate.
    Fig 7: Identifying Front Bearing Retainer Plate And Bolts
    G06265466Courtesy of AMERICAN HONDA MOTOR CO., INC.
  11. Drive out the front bearing with a brass drift and hammer.
    Fig 8: Driving Out Front Bearing With Brass Drift And Hammer
    G06265467Courtesy of AMERICAN HONDA MOTOR CO., INC.
  12. With a hammer and special tools, install a new front bearing in the drive end housing.
    Fig 9: Installing Front Bearing In Drive End Housing
    G06265468Courtesy of AMERICAN HONDA MOTOR CO., INC.

    Alternator Brush Inspection 

  13. Measure the length of both brushes (A) with vernier calipers (B).
    • If either brush is shorter than the service limit, replace the brush holder assembly.
    • If brush length is OK, go to step 14.

    Alternator Brush Length 

    Standard (New): 10.5 mm (0.41 in.) 

    Service Limit: 1.5 mm (0.06 in.) 

    Fig 10: Measuring Length Of Both Brushes With Vernier Calipers
    G06265469Courtesy of AMERICAN HONDA MOTOR CO., INC.

    Rotor Slip Ring Test 

  14. Check for continuity between the slip rings (A).
    • If there is continuity, go to step 15.
    • If there is no continuity, replace the rotor assembly.
    Fig 11: Checking Continuity Between Slip Rings
    G06265470Courtesy of AMERICAN HONDA MOTOR CO., INC.
  15. Check for continuity between each slip ring and the rotor (B) and the rotor shaft (C).
    • If there is no continuity, replace the rear housing assembly, and go to step 16.
    • If there is continuity, replace the rotor assembly.

    Alternator Reassembly 

  16. If you removed the pulley, put the rotor in the drive end housing, then tighten its locknut to 110 N.m (11.2 kgf.m, 81.0 lbf.ft).
  17. Remove any grease or any oil from the slip rings.
  18. Put the rear housing assembly and drive end housing/rotor assembly together, tighten the four through bolts.
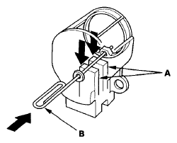
  19. Push the brushes (A) in, then insert a pin or drill bit (B) (about 1.6 mm (0.06 in.) diameter) to hold them there.
    Fig 12: Inserting Pin Or Drill Bit
    G06265471Courtesy of AMERICAN HONDA MOTOR CO., INC.
  20. Install the brush holder, and pull out the pin.
    Fig 13: Pulling Out Pin
    G06265472Courtesy of AMERICAN HONDA MOTOR CO., INC.
  21. Install the end cover.
  22. After assembling the alternator, turn the pulley by hand to make sure the rotor turns smoothly and without noise.
  23. Install the alternator (see INSTALLATION ) and drive belt (see DRIVE BELT INSPECTION ).