LEMON Manuals: Even more car manuals for everyone: 1960-2025
Home >> Acura >> 2009 >> CSX Base, Standard >> Repair and Diagnosis >> Engine Performance >> System >> EVAP System >> EVAP Canister Vent Shut Valve Replacement
April 5, 2026: LEMON Manuals is launched! Read the announcement.

EVAP Canister Vent Shut Valve Replacement

  1. Remove the EVAP canister (see EVAP CANISTER REPLACEMENT ).
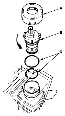
  2. Remove the cap (A).
    Fig 1: Removing EVAP Canister Vent Shut Valve And Cap
    G06265921Courtesy of AMERICAN HONDA MOTOR CO., INC.
  3. Remove the EVAP canister vent shut valve (B).
  4. Install the parts in the reverse order of removal with new O-rings (C) and new cap.
    NOTE: Do not coat the O-ring with oil.