LEMON Manuals: Even more car manuals for everyone: 1960-2025
Home >> Acura >> 2009 >> CSX Base, Standard >> Repair and Diagnosis >> External Pages >> Different car >> Section 17 (Climate Control System) >> Climate Control >> Outside Air Temperature Sensor Replacement
April 5, 2026: LEMON Manuals is launched! Read the announcement.

Outside Air Temperature Sensor Replacement

WARNING: This page is about a different car, the 2011 Acura TL, 2010 Acura TL, and 2009 Acura TL. However, it is still accessible from the selected car via links, so may be relevant.
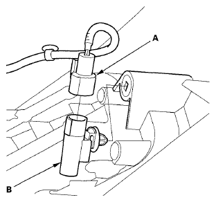
  1. From behind the bumper, disconnect the 2P connector (A) Detach the clip and remove the outside air temperature sensor (B)
    Fig 1: Identifying Outside Air Temperature Sensor And 2P Connector
    G05988681Courtesy of AMERICAN HONDA MOTOR CO., INC.
  2. Install the sensor in the reverse order of removal