LEMON Manuals: Even more car manuals for everyone: 1960-2025
Home >> Acura >> 2009 >> CSX Base, Standard >> Repair and Diagnosis >> External Pages >> Different car >> Section 3 (Starting System) >> Starter Overhaul >> M/T Model
April 5, 2026: LEMON Manuals is launched! Read the announcement.

M/T Model

WARNING: This page is about a different car, the 2011 Acura TL, 2010 Acura TL, and 2009 Acura TL. However, it is still accessible from the selected car via links, so may be relevant.
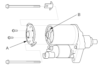
Fig 1: Exploded View Of Starter With Torque Specifications
G00492182Courtesy of AMERICAN HONDA MOTOR CO., INC.

Brush Holder Removal 

NOTE: Refer to Exploded View Of Starter if needed during this procedure.
  1. Remove the starter (see STARTER REMOVAL AND INSTALLATION )
  2. Disconnect the motor wire from M terminal (see step 4 on STARTER SOLENOID TEST ), and remove the end cover
  3. Remove the brush holder (A)
    Fig 2: Identifying Brush Holder
    G00492183Courtesy of AMERICAN HONDA MOTOR CO., INC.

    Armature Inspection and Test 

  4. Inspect the armature for wear or damage from contact with the permanent magnet If there is wear or damage, replace the armature
    Fig 3: Identifying Armature
    G00492184Courtesy of AMERICAN HONDA MOTOR CO., INC.
  5. Check the commutator (A) surface If the surface is dirty or burnt, resurface it with an emery cloth or a lathe to the specifications in step 8, or recondition with #500 or #600 sandpaper (B)
    Fig 4: Checking Commutator And Surface
    G00492185Courtesy of AMERICAN HONDA MOTOR CO., INC.
  6. Check the commutator diameter with a digital caliper or dial type caliper. If the diameter is below the service limit, replace the armature

    Commutator Diameter 

    Standard (New) 28.0-28.1 mm (1.102-1.106 in) 

    Service Limit 27.5 mm (1.08 in) 

    Fig 5: Checking Commutator Diameter
    G05986516Courtesy of AMERICAN HONDA MOTOR CO., INC.
  7. Measure the commutator (A) runout
    • If the commutator runout is within the service limit, check the commutator for carbon dust or brass chips between the segments
    • If the commutator runout is not within the service limit, replace the armature

    Commutator Runout 

    Standard (New) 0 02 mm (0 001 in) max 

    Service Limit 0 05 mm (0 002 in) 

    Fig 6: Measuring Commutator Runout
    G05986517Courtesy of AMERICAN HONDA MOTOR CO., INC.
  8. Use a digital caliper or dial type caliper to check the mica depth (A) If the mica depth is below the service limit, replace the armature

    Commutator Mica Depth 

    Standard (New) 0.4-0.5 mm (0.16-0.20 in) 

    Service Limit 0.15 mm (0.006 in) 

    Fig 7: Identifying Commutator Mica Depth
    G05986518Courtesy of AMERICAN HONDA MOTOR CO., INC.
  9. Use an ohmmeter to check for continuity between the segments of the commutator If there is an open circuit between any segments, replace the armature
    Fig 8: Checking Continuity Between Segments Of Commutator
    G05986519Courtesy of AMERICAN HONDA MOTOR CO., INC.
  10. Place the armature (A) on an armature tester (B) Hold a hacksaw blade (C) on the armature core If the blade is attracted to the core while the core is turned, the armature is shorted Replace the armature
    Fig 9: Placing Armature On Armature Tester
    G05986520Courtesy of AMERICAN HONDA MOTOR CO., INC.
  11. Use an ohmmeter to check for continuity between the commutator (A) and the armature coil core (B), and between the commutator and the armature shaft (C) If there is continuity, replace the armature
    Fig 10: Checking Continuity Between Commutator And Armature Coil Core
    G05986521Courtesy of AMERICAN HONDA MOTOR CO., INC.

    Overrunning Clutch Inspection 

    Starter Brush Inspection 

  12. Remove the brush holder cap (A) then remove the brushes (B)
  13. Fig 11: Identifying Brushes
    G00492186Courtesy of AMERICAN HONDA MOTOR CO., INC.
  14. Measure the brush length If it is shorter than the service limit, replace the brush holder assembly

    Brush Length 

    Standard (New) 15.8-16.2 mm (0.62-0.64 in) 

    Service Limit 11.0 mm (0.43 in) 

    Fig 12: Measuring Brush Length
    G05986524Courtesy of AMERICAN HONDA MOTOR CO., INC.

    Starter Brush Holder Test 

  15. Check for continuity between the brushes (A) and brushes (B). If there is continuity, replace the brush holder assembly.
    Fig 13: Identifying Brushes
    G00492187Courtesy of AMERICAN HONDA MOTOR CO., INC.
  16. Overrunning Clutch Inspection 

  17. Slide the overrunning clutch along the shaft. Replace it if it does not slide smoothly.
  18. Rotate the overrunning clutch (A) both ways. If it does not lock in either direction, or it locks in both directions, replace it
  19. Fig 14: Turning Overrunning Clutch
    G00492188Courtesy of AMERICAN HONDA MOTOR CO., INC.
  20. If the starter drive gear is worn or damaged, replace the overrunning clutch assembly, the gear is not available separately

    Check the condition of the flysheel ring gear to see if the teeth are damaged

  21. Starter Reassembly 

  22. Install the armature in the housing
  23. Set the brushes with the brush spring in the brush holder (A).
    Fig 15: Identifying Brush Holder
    G00492183Courtesy of AMERICAN HONDA MOTOR CO., INC.
  24. Place the brush holder assembly on the armature, then move the brush holder down to the armature
    NOTE: Keep the brush holder on the armature so the brushes do not come out of the brush holder
  25. Install the end cover (A) to retain the brush holder (B).
    Fig 16: Identifying End Cover To Brush Holder
    G00492189Courtesy of AMERICAN HONDA MOTOR CO., INC.
  26. Install the starter (see STARTER REMOVAL AND INSTALLATION )