LEMON Manuals: Even more car manuals for everyone: 1960-2025
Home >> Acura >> 2009 >> CSX Base, Standard >> Repair and Diagnosis >> External Pages >> Different car >> Section 37 (Engine Block) >> Block and Piston Inspection
April 5, 2026: LEMON Manuals is launched! Read the announcement.

Block and Piston Inspection

WARNING: This page is about a different car, the 2011 Acura TL, 2010 Acura TL, and 2009 Acura TL. However, it is still accessible from the selected car via links, so may be relevant.
  1. Remove the pistons from the engine block (see CRANKSHAFT AND PISTON REMOVAL )
  2. Check the pistons for distortion or cracks
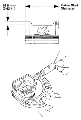
  3. Measure the piston skirt diameter at a point 16.0 mm (0.63 m) from the bottom of the skirt

    J35Z6 engine 

    Piston Skirt Diameter 

    Standard (New): 88 975-88 985 mm (3.5029-3.5033 in) 

    Service Limit: 88.965 mm (3.5026 in) 

    Oversize Piston Skirt Diameter 

    0.25: 89.225 - 89.235 mm (3.5128 - 3.5132 in) 

    J37A4 engine 

    Piston Skirt Diameter 

    Standard (New): 89 983-89 996 mm (3 5426-3 5431 in) 

    Service Limit: 89 975 mm (3 5423 in) 

    Fig 1: Measuring Piston Skirt Diameter
    G05987045Courtesy of AMERICAN HONDA MOTOR CO., INC.
  4. Measure the wear and taper in direction X and Y at three levels in each cylinder as shown
  5. J35Z6 engine If the measurements in any cylinder are beyond the oversize bore service limit, replace the engine block If the engine block has to be rebored, refer to step  8 after reboring

    J37A4 engine If the measurements in any cylinder are beyond the service limit, replace the engine block The J37A4 engine block can not be rebored

    J35Z6 engine 

    Cylinder Bore Size 

    Standard (New): 89.000-89.015 mm (3.5039-3.5045 in) 

    Service Limit: 89.065 mm (3.5065 in) 

    Oversize 

    0.25: 89.250-89.265 mm (3.5138-3.5144 in) 

    Reboring Limit 0.25 mm (0.01 in) 

    Bore Taper 

    Limit (Difference between first and third measurement) 0.015 mm (0.00059 in) 

    J37A4 engine 

    Cylinder Bore Size 

    Standard (New): 90.000-90.015 mm (3.5433-3.5439 in) 

    Service Limit: 90.065 mm (3.5459 in) 

    Bore Taper 

    Limit (Difference between first and third measurement) 0.015 mm (0.00059 in) 

    Fig 2: Measuring Cylinder Bore Size
    G05987046Courtesy of AMERICAN HONDA MOTOR CO., INC.
  6. J35Z6 engine Hone any scored or scratched cylinder bores (see CYLINDER BORE HONING )
    NOTE: The J37A4 engine can not be honed If the cylinders are damaged, the engine block must be replaced
  7. Check the top of the engine block for warpage Measure along the edges and across the center as shown

    Engine Block Warpage 

    Standard (New): 0.07 mm (0.003 in) max. 

    Service Limit: 0.10 mm (0.004 in) 

    Fig 3: Checking Top Of Engine Block For Warpage
    G05987047Courtesy of AMERICAN HONDA MOTOR CO., INC.
  8. Calculate the difference between the cylinder bore diameter and the piston diameter If the clearance is near or exceeds the service limit, inspect the piston and the cylinder bore for excessive wear

    J35Z6 engine 

    Piston-to-Cylinder Bore Clearance 

    Standard (New): 0 015-0 040.mm (0.0006-0.0016 in.) 

    Service Limit: 0 08 mm (0.003 in) 

    J37A4 engine 

    Piston-to-Cylinder Bore Clearance 

    Standard (New): 0.004-0.032 mm (0.00016-0.0013 in) 

    Service Limit: 0.070 mm (0.0027 in) 

    Fig 4: Inspecting Piston And Cylinder Bore For Excessive Wear
    G05987048Courtesy of AMERICAN HONDA MOTOR CO., INC.