LEMON Manuals: Even more car manuals for everyone: 1960-2025
Home >> Acura >> 2009 >> CSX Base, Standard >> Repair and Diagnosis >> External Pages >> Different car >> Section 37 (Engine Block) >> Piston, Pin, and Connecting Rod Replacement >> Disassembly
April 5, 2026: LEMON Manuals is launched! Read the announcement.

Piston, Pin, and Connecting Rod Replacement: Disassembly

WARNING: This page is about a different car, the 2011 Acura TL, 2010 Acura TL, and 2009 Acura TL. However, it is still accessible from the selected car via links, so may be relevant.
  1. Remove the pistons from the engine block (see CRANKSHAFT AND PISTON REMOVAL )
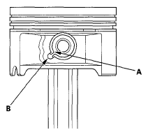
  2. Apply new engine oil to the piston pin snap rings (A) and turn them in the ring grooves until the end gaps are lined up with the cutouts in the piston pin bores(B)
    NOTE: Take care not to damage the ring grooves
    Fig 1: Identifying Piston Snap Rings
    G05987050Courtesy of AMERICAN HONDA MOTOR CO., INC.
  3. Remove the snap rings (A) from both sides of each piston Start at the cutout in the piston pin bore Remove the snap rings carefully so they do not go flying or get lost Wear eye protection
    Fig 2: Removing Snap Rings
    G05987051Courtesy of AMERICAN HONDA MOTOR CO., INC.
  4. Separately heat each piston and connecting rod assembly to about 158°F (70°C), then remove the piston pin
Fig 3: Removing Piston Pin
G05987052Courtesy of AMERICAN HONDA MOTOR CO., INC.