LEMON Manuals: Even more car manuals for everyone: 1960-2025
Home >> Acura >> 2009 >> CSX Base, Standard >> Repair and Diagnosis >> External Pages >> Different car >> Section 46 (Navigation System) >> HFL-Navigation Microphone Removal/Installation
April 5, 2026: LEMON Manuals is launched! Read the announcement.

HFL-Navigation Microphone Removal/Installation

WARNING: This page is about a different car, the 2011 Acura TL, 2010 Acura TL, and 2009 Acura TL. However, it is still accessible from the selected car via links, so may be relevant.
  1. Remove the roof console (see HEADLINER REMOVAL/INSTALLATION )
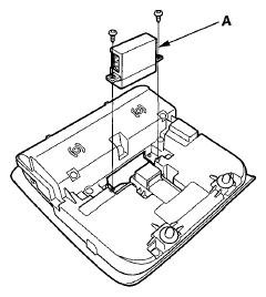
  2. Remove the screws and HFL-navigation microphone (A)
    Fig 1: Identifying HFL-Navigation Microphone
    G05989856Courtesy of AMERICAN HONDA MOTOR CO., INC.
  3. Install the HFL-navigation microphone in the reverse order of removal