LEMON Manuals: Even more car manuals for everyone: 1960-2025
Home >> Acura >> 2009 >> CSX Base, Standard >> Repair and Diagnosis >> External Pages >> Different car >> Section 47 (Audio System) >> General Troubleshooting Information >> Lever-Locked Connector >> Connecting
April 5, 2026: LEMON Manuals is launched! Read the announcement.

Lever-Locked Connector: Connecting

WARNING: This page is about a different car, the 2011 Acura TL, 2010 Acura TL, and 2009 Acura TL. However, it is still accessible from the selected car via links, so may be relevant.

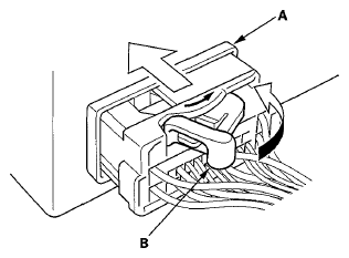
To connect the connector, push the connector into the connector sleeve (A) As the connector is pressed in, the lever (B) moves to the locked position

Fig 1: Pushing Connector Into Connector Sleeve
G05989446Courtesy of AMERICAN HONDA MOTOR CO., INC.